EasyManua.ls Logo

BendPak HD-973PX - Page 27

BendPak HD-973PX
112 pages
Print Icon
To Next Page IconTo Next Page
To Next Page IconTo Next Page
To Previous Page IconTo Previous Page
To Previous Page IconTo Previous Page
Loading...
HD-973P Series Multi-Level Parking Lift 27 P/N 5900076Rev. B3 — January 2024
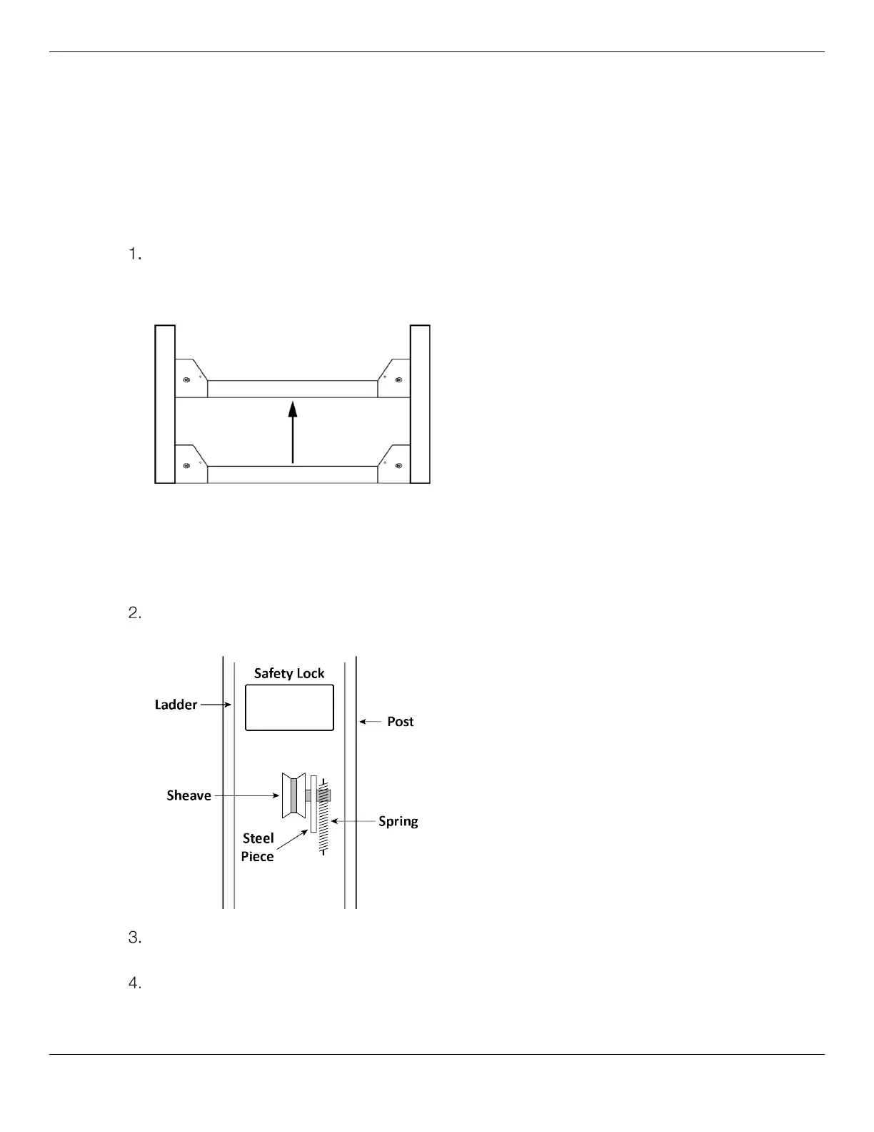
Raising the Crosstubes
You need to manually raise the Crosstubes for each Platform, which makes it easier to complete the
rest of the installation tasks.
The Front and Rear Crosstubes need to be raised the same height, to the same Safety Lock. For
example, if the Front Crosstube of the Upper Platform is raised to the sixth Safety Lock, then the Rear
Crosstube for the Upper Platform also needs to be placed on the sixth Lock.
To raise the Crosstubes:
Using a Forklift or Shop Crane, carefully raise each Crosstube.
You want to raise the Crosstubes for the Upper Platform at least two feet higher than the Lower
Platform, to have enough room to work under it, making it easier to route the Cables and Lines.
Important: The Slack Safeties cannot be engaged as you continue with the installation. Because
the Cables are not in place yet, the Slack Safeties are going to engage when you
manually raise the Crosstubes. You need to disengage them after you have raised the
Crosstubes. The Primary Safeties are not impacted; they will engage normally when
you manually raise each Crosstube, which is what you want.
To disengage the Slack Safeties after raising a Crosstube, press the Sheave and/or the Steel Piece
(they are connected and will move together) back towards the Ladder and the back of the Post.
Once both Crosstubes are in position, all Primary Safeties are engaged, and the Slack
Safeties have been disengaged, you can continue with the installation.
Repeat Steps 1 through 3 for the other Platform.

Related product manuals