EasyManua.ls Logo

Bently Nevada 3500 Galvanic Isolator Interface - Keyphasor Backplane; Connecting Single or Redundant Power Supplies in a Ring Main System

Default Icon
36 pages
Print Icon
To Next Page IconTo Next Page
To Next Page IconTo Next Page
To Previous Page IconTo Previous Page
To Previous Page IconTo Previous Page
Loading...
Section 4 — Wiring the Hardware
19
1
3
4
2
3
2
4
5
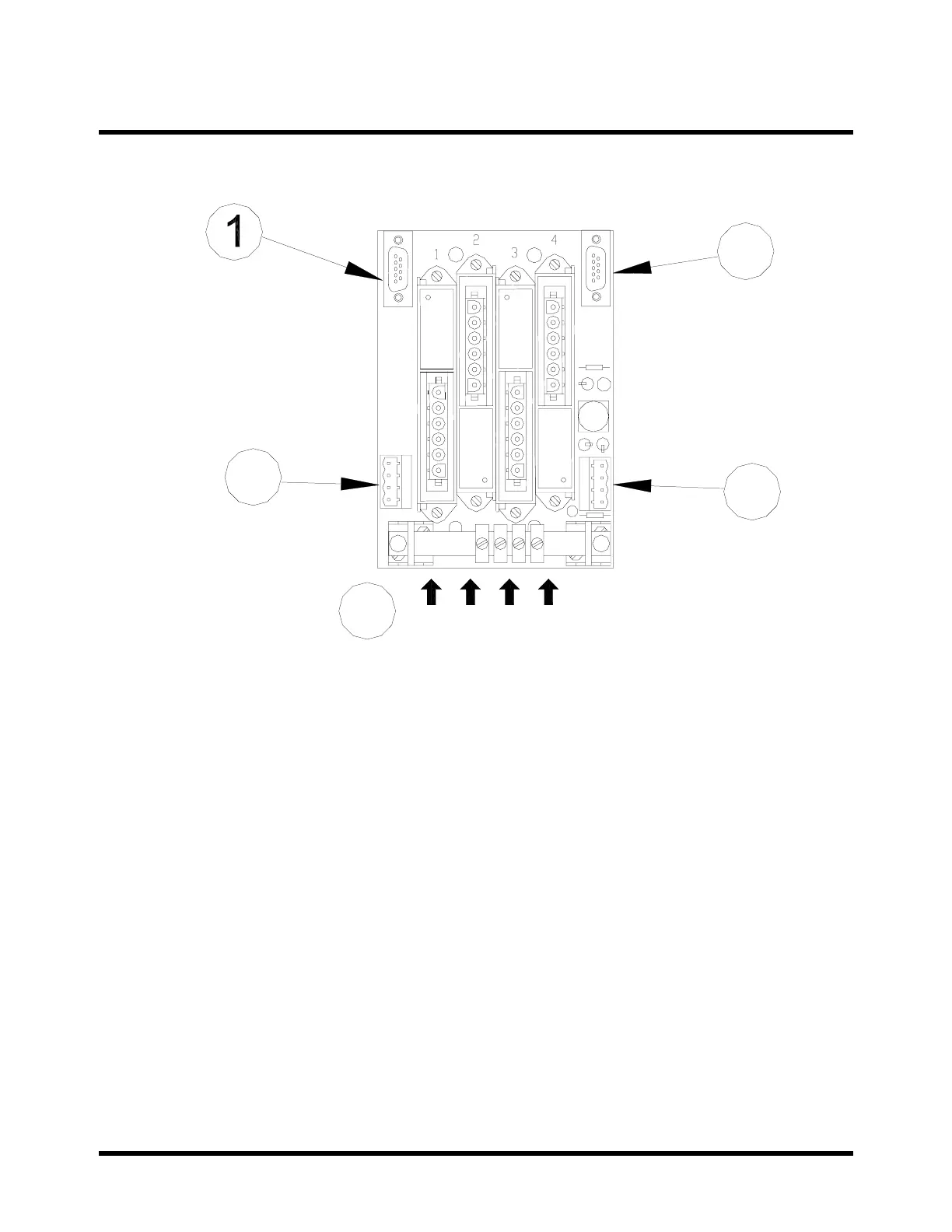
4.2.2 Keyphasor Backplane.
1) Signal and Common: Terminals 7 & 8 of Vibration Transducer Interfaces 1 & 2.
2) Signal and Common: Terminals 7 & 8 of Vibration Transducer Interfaces 3 & 4.
3) Power Input/ Output: Input: Terminals 13 & 14 of all Vibration Transducer
Interfaces; Output: Bussed Power to Adjacent Backplanes.
4) Power Input/ Output: Input: Terminals 13 & 14 of all Vibration Transducer
Interfaces; Output: Bussed Power to Adjacent Backplanes.
5) Position of Vibration Transducer Interfaces 1 to 4 (Position 1 = Ch1.).
4.3 Connecting Single or Redundant Power Supplies
in a Ring Main System
Supply power to the Vibration Transducer Interface modules by connecting a 20 to 35
Vdc power supply to the backplane as shown. Connect two power supplies to the
backplane for dual redundancy.
There are two mating power supply connectors (Position “A”, Position “B ”) on each
backplane. Each connector can be used to connect either primary only, secondary only
or both primary and secondary power supplies.

Related product manuals