EasyManua.ls Logo

BIRO AFMG-24 - Items Required for Tandem Operation

BIRO AFMG-24
32 pages
Print Icon
To Next Page IconTo Next Page
To Next Page IconTo Next Page
To Previous Page IconTo Previous Page
To Previous Page IconTo Previous Page
Loading...
20
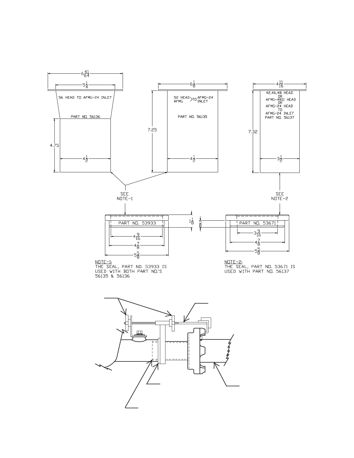
ITEMS REQUIRED FOR TANDEM OPERATION
NOTE:
THESE ARE DESIGNED TO WORK ON BIRO EQUIPMENT OR OTHER MANUAL AND
AUTO FEED GRINDERS OF COMPARABLE PLATE SIZE
CONNECTING BRACKET
ASSEMBLY
PART No.53552-2A
SEAL
DISCHARGE HORN
(MUST SPECIFY SIZE
OF No. 1 FEED GRINDER BOWL)
PLASTIC KNOB
PART No. 272-7-1
HOPPER
INPUT
FEED TUBE
BOWL OF No. 1
FEED GRINDER
See Pictures
on Page 25.