EasyManua.ls Logo

BIRO AFMG-24 - Power Transmission; Power Transmission Fasteners

BIRO AFMG-24
32 pages
Print Icon
To Next Page IconTo Next Page
To Next Page IconTo Next Page
To Previous Page IconTo Previous Page
To Previous Page IconTo Previous Page
Loading...
13
POWER TRANSMISSION
POWER TRANSMISSION
FASTENERS
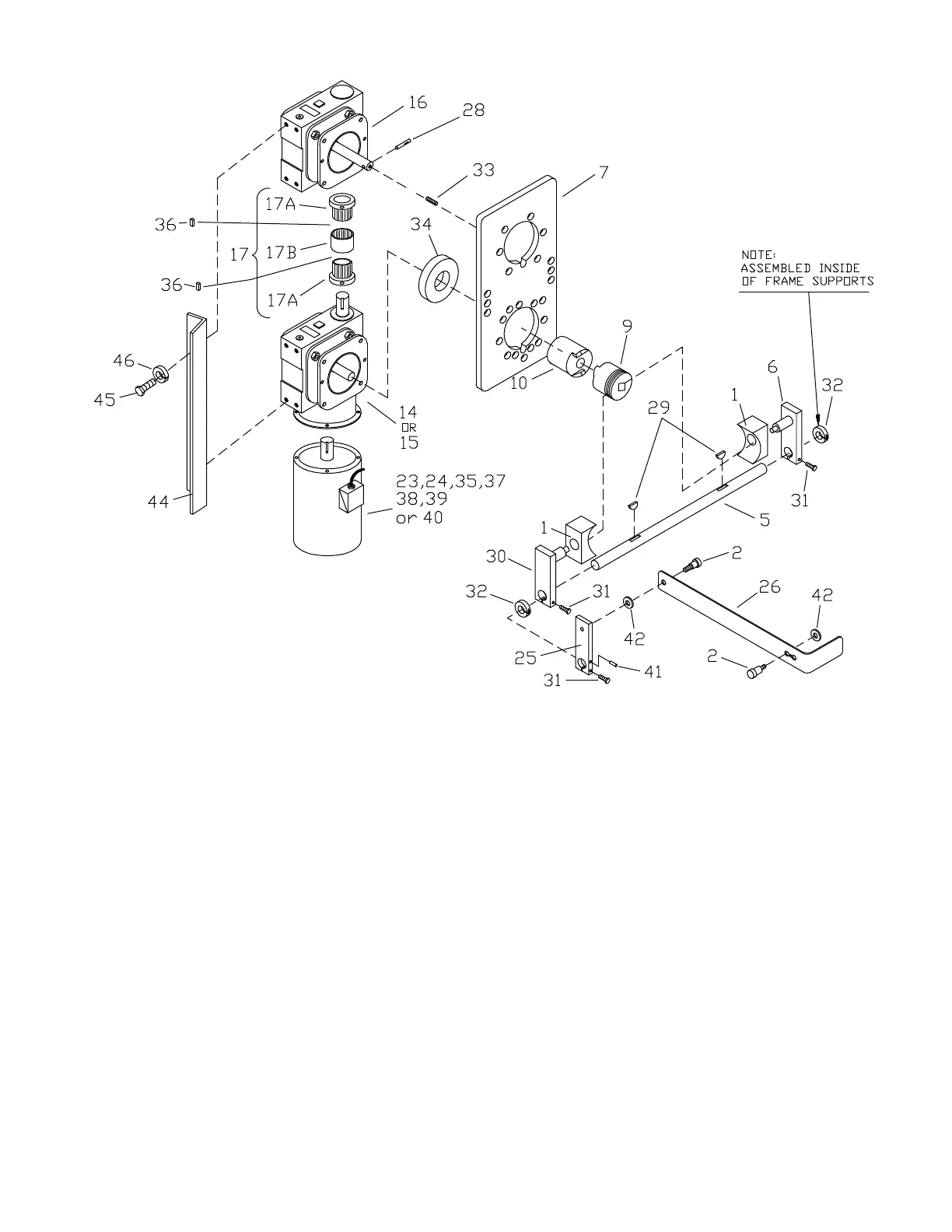
MIXER TRANSMISSION TO MOUNTING PLATE
HHS126S
Hex head screw, ½-13 x 1¼, SS, (4 ea.)
LW30S
Lock washer, ½”, SS, (4 ea.)
Item No.
S217C
Dowel pin, 5⁄16 x ¾, (2 ea.)
MOTOR TO TRANSMISSION
HHS126S
Hex head screw, ½-13 x 1¼, SS, (4 ea.)
LW30S
Lock washer, ½, SS, (4 ea.)
Item No.
GRINDER TRANSMISSION TO MOUNTING PLATE
HHS126S
Hex head screw, ½-13 x 1¼, SS, (4 ea.)
LW30S
Lock washer, ½”, SS, (4 ea.)
Item No.
S217C
Dowel pin, 5⁄16 x ¾, (2 ea.)
TRANSMISSION MOUNTING PLATE TO
MOUNTING PLATE SUPPORT
HHS075S
Hex head screw, ⅜-16 x 1¼, SS, (6 ea.)
LW20S
Lock washer, ⅜, SS, (6 ea.)
Item No.
S217C
Dowel pin, 5⁄16 x ¾, (2 ea.)
LOVEJOY COUPLING TO TRANSMISSION SHAFTS
SSS10Z
Set screw, ¼-20 x ¼, (4 ea.)
Item No.
JOURNAL BOX TO MOUNTING PLATE
HHS070S
Hex head screw, ⅜-16 x 1, SS, (4 ea.)
LW20S
Lock washer, ⅜, SS, (4 ea.)
Item No.
S217C
Dowel pin, 5⁄16 x ¾, (2 ea.)
DRIVING CLUTCH MOTOR OUTPUT TO
TRANSMISSION SHAFT
SSS17KL
Set screw, knurled, cup 5/16-18 x ⅜, (3 ea.)
Item No.
TORQUE LINK TO JOURNAL BOX
HHS126S
Hex head screw, ½-13 x 1¼, SS, (2 ea.)
LW30S
Lock washer, ½”, SS, (2 ea.)
Item No.
CLUTCH ENGAGEMENT ARM TO CLUTCH ARM LOCK
SSB50PS
Shoulder bolt, ⅜-16 x ⅜, (2 ea.)
Item No.
TRANSMISSION BRACE
HHS126S
Hex head screw, ½-13 x 1¼, SS, (4 ea.)
LW30S
Lock washer, ½”, SS, (4 ea.)
Item No.