EasyManua.ls Logo

BIRO AFMG-24 - Mixer Drive Shaft Seal Replacement

BIRO AFMG-24
32 pages
Print Icon
To Next Page IconTo Next Page
To Next Page IconTo Next Page
To Previous Page IconTo Previous Page
To Previous Page IconTo Previous Page
Loading...
27
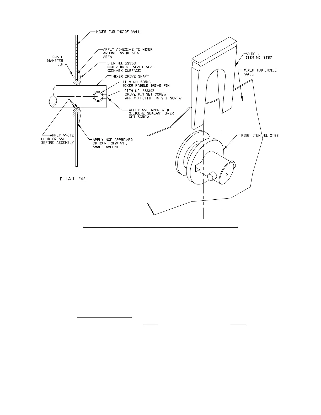
Assembly Instructions for Mixer Drive Shaft Seal
1. Remove the Set Screw, Item No. SSS10Z from the end of the Mixer Drive Shaft.
2. Remove Mixer Paddle Drive Pin, Item No. 53516.
3. Remove old Seal. Remove old silicone, clean and dry Tub around Seal area.
4. Apply white Food safe Grease to the new Seal Lip on the inside diameter. See Detail “A” for location.
5. Assemble new Mixer Drive Shaft Seal. See Detail “A”.
7. Check the Mixer Drive Seal for t. Be sure the Seal makes contact all around the Mixer Drive Shaft.
6. Fold smaller diameter lip of the seal into tub hole. Rotate mixer drive shaft seal clockwise. Make sure
the smaller diameter is completely outside the tub.
8. Install the Mixer Paddle Drive Pin and tighten the Set Screw, Item No. SSS10Z. Apply food approved
Silicone Sealant over the Set Screw.
9. The Tub and Seal must be clean and dry. Use Rubbing Alcohol. Apply Biro Item No. 53953A-1 adhesive,
only use half the tube, .05 ounce around the inside of the Mixer Shaft Seal and inside of the Tub wall. Wipe
away excess adhesive. Adhesive working life, 20 seconds.
10. Slide Ring, Item No. ST88 onto the Mixer Drive Shaft, concave side toward the Seal. Use the Wedge, Item
No. ST87 between Ring and Mixer Paddle Drive Pin to apply even pressure against the Seal. Do not over
pressurize.
11. Wait, allow for 10 minutes set up time. Remove Wedge and Ring.
12. Apply a small amount of NSF approved silicone sealant, Biro Item No. 400 around the outside edge of the
Seal. Wipe away excess silicone sealant. The 3 uid ounce tube of Sealant contains enough to complete
30 Assemblies.
13. Allow the Adhesives to cure for 24 hours before running the Mixer/Grinder.
MIXER DRIVE SHAFT SEAL REPLACEMENT