EasyManua.ls Logo

Bosch DSA E-Series (E2700) - Page 43

Bosch DSA E-Series (E2700)
80 pages
Print Icon
To Next Page IconTo Next Page
To Next Page IconTo Next Page
To Previous Page IconTo Previous Page
To Previous Page IconTo Previous Page
Loading...
DSA E-Series (E2700) Installing the drive trays for the E2700 controller-drive tray configurations | en 43
Bosch Sicherheitssysteme GmbH Installation manual 2015.10 | V2 | DOC
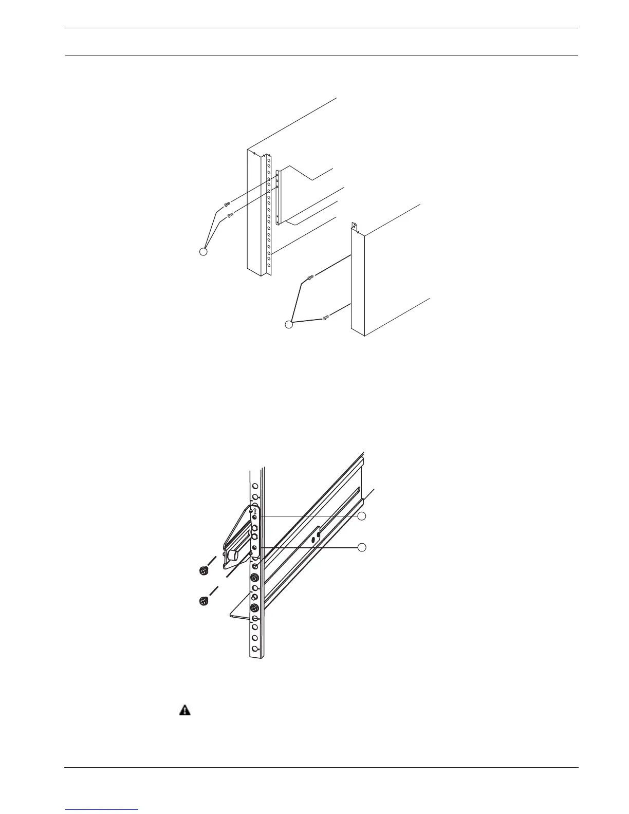
Insert one M5 screw through the front of the cabinet, and screw it into the top
captured nut in the mounting rail.
92011-05
1
1
1 - M5 screws
Insert two M5 screws through the rear of the cabinet, and screw them into the
captured nuts in the rear flange in the mounting rail.
Counting up from the bottom of the mounting rail, place the bottom of the rear
bracket in the 8th hole of the cabinet, so that the top of the rear bracket is in the
11th hole. The distance between the two holes should be 1U or 4.45 cm (1.75 in).
Tighten the adjustment screws on the mounting rail.
Repeat the substeps to install the second mounting rail.
1
2
92042-03
UP
1 - Top cabinet mounting hole on the rear EIA support rail
2 - Bottom cabinet mounting hole on the rear EIA support rail
9. Remove the bezel from the front of the drive tray.
WARNING (W09) Risk of bodily injury – Three persons are required to safely lift the
component.

Table of Contents