EasyManua.ls Logo

Bowflex SelectTech 2080 - Understanding and Testing the Locking Mechanism Function; Locking Mechanism Function; Locking Mechanism Purpose; Testing the Locking Mechanism

Bowflex SelectTech 2080
16 pages
Print Icon
To Next Page IconTo Next Page
To Next Page IconTo Next Page
To Previous Page IconTo Previous Page
To Previous Page IconTo Previous Page
Loading...
Understanding and testing the locking mechanism function
The Bowflex
SelectTech
Barbell features an exclusive locking mechanism designed to ensure proper and complete selection of the weight plates
as well as to ensure weight plate retention during the workout.
Fully understand the function of this mechanism and do tests of the mechanism regularly to make sure it operates correctly.
Function
The locking mechanism provides a key function:
The mechanism will only allow the adjustment knobs to be rotated when the barbell handle is completely inserted and engaging the barbell
base.
Purpose
The locking mechanism serves an important purpose:
The mechanism will prevent deselecting (dropping) weight plates from the barbell when it is NOT in the barbell base.
Given the importance of this locking mechanism, it is critical that you understand how it operates, and periodically test it to make sure it is
functioning correctly.
Testing proper locking mechanism function
Some components of the machine can be heavy or awkward. Use a second person when doing the steps involving these parts.
Do not do steps that involve heavy lifting or awkward movements on your own.
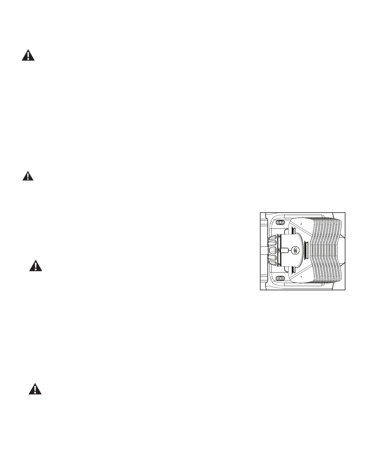
1. With the barbell handle set in the barbell base, turn both adjustment knobs to the number 20. You will know you have fully and correctly
selected the number when you feel the adjustment knob settle into a notch (known as a detent). You will also hear a slight, but audible,
clicking noise that corresponds with the detent locations for each number.
2. You should be able to withdraw the handle from the base leaving all the weight plates behind.
3. With the handle removed from the base, grab one adjustment knob with your other hand and
gently attempt to turn the knob, the knob should not rotate. A locking pin in the mechanism will
have engaged the rotational assembly when the unit was withdrawn from the base. Perform this
test with all adjustment knobs.
Do not use too much force to try to turn the locked adjustment knob. Too much force
can damage the locking mechanism.
4. After confirming the proper function of the locking mechanism as described above, return and
fully insert the barbell handle back into the base assembly.
5. With the handle back in the base, attempt to turn the adjustment knob on one side to a position that is between the numbers 20 and 30. It
should not be possible to stop the adjustment knob in this “in-between” position. The spring action of the knob should automatically select
either the 20-lb or 30-lb position.
6. Ensure that the adjustment knob has returned to a full and proper weight selection and assure that the barbell handle can once again be
removed.
7. Repeat this test for all adjustment knobs.
8. Assure the entire barbell handle assembly is properly tightened. Do this by setting the adjustment knobs to 20 pounds and removing the
handle assembly from the base. Grab both adjustment knobs and very slightly push and pull the knobs toward and away from the handle
grip. The knobs should not exhibit excessive free play.
This step requires two people. Do not use too much force to try to turn the locked adjustment knob. Too much force can
damage the locking mechanism.
9. You have now tested the function of the locking mechanisms. We suggest you repeat this test monthly to make sure that the locking
mechanisms operate correctly.
9.1
20
Owners Manual
11

Other manuals for Bowflex SelectTech 2080

Related product manuals