EasyManua.ls Logo

Brink Innosource Sonair - Display

Brink Innosource Sonair
Print Icon
To Next Page IconTo Next Page
To Next Page IconTo Next Page
To Previous Page IconTo Previous Page
To Previous Page IconTo Previous Page
Loading...
31
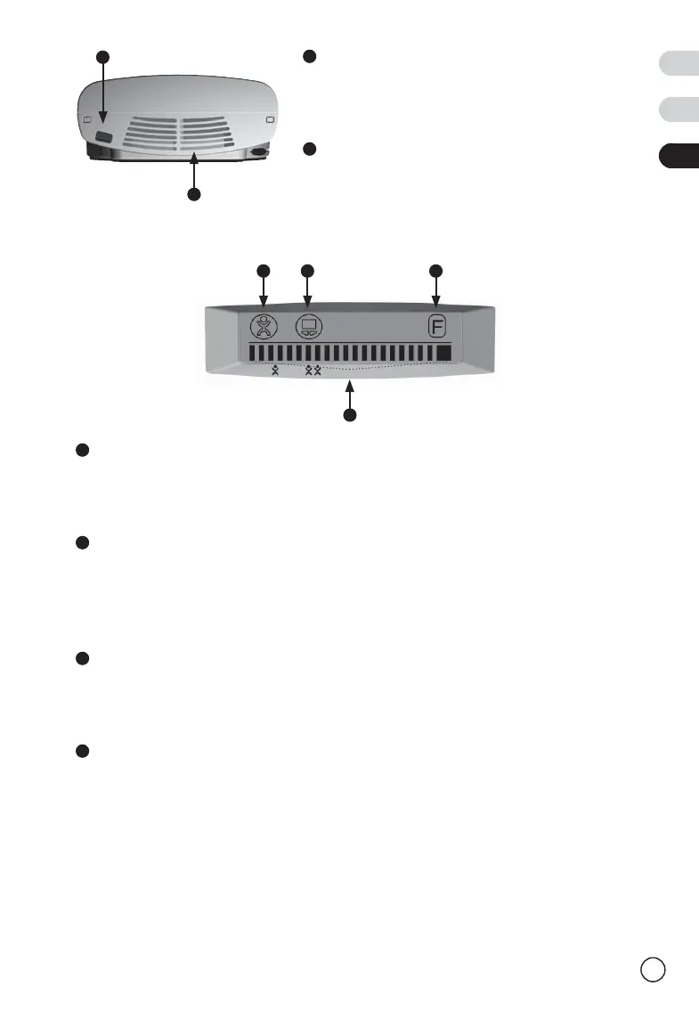
Gerätestecker
In diesen Stecker stecken Sie die Kupplung
des zugehörigen Netzkabels.
Umluftöffnung (nur Sonair A
+
/ ACC-A
+
)
Über diese Öffnung saugt das Gerät die
Innenluft an.
2.2 Display
Netzspannungsanzeige
Dieses Zeichen erscheint, wenn das Gerät an die Versorgungsspannung
angeschlossen wird.
ACC-Symbol (nur bei Sonair ACC-A
+
und ACC-F
+
)
Das Symbol erscheint, wenn das Gerät von der Zentralsteuerung des
ACC-Systems gesteuert wird. Weitere Einzelheiten zum Automatik- und
Normalbetrieb siehe Seite 32.
Anzeigebalken
Der Balken zeigt die momentane Luftleistungsstufe an (Normalbetrieb).
Weitere Einzelheiten zur empfohlen Luftleistung siehe Seite 32.
Fehleranzeige
Die Fehleranzeige erscheint bei einem Funktionsfehler. In diesem Fall schaltet
das Gerät automatisch ab. Weitere Einzelheiten zur Fehlerbehebung siehe
Seite 37.
MAX
7
8
7
8
A B D
C
A
B
C
D
NL
EN
DE

Table of Contents

Related product manuals