EasyManua.ls Logo

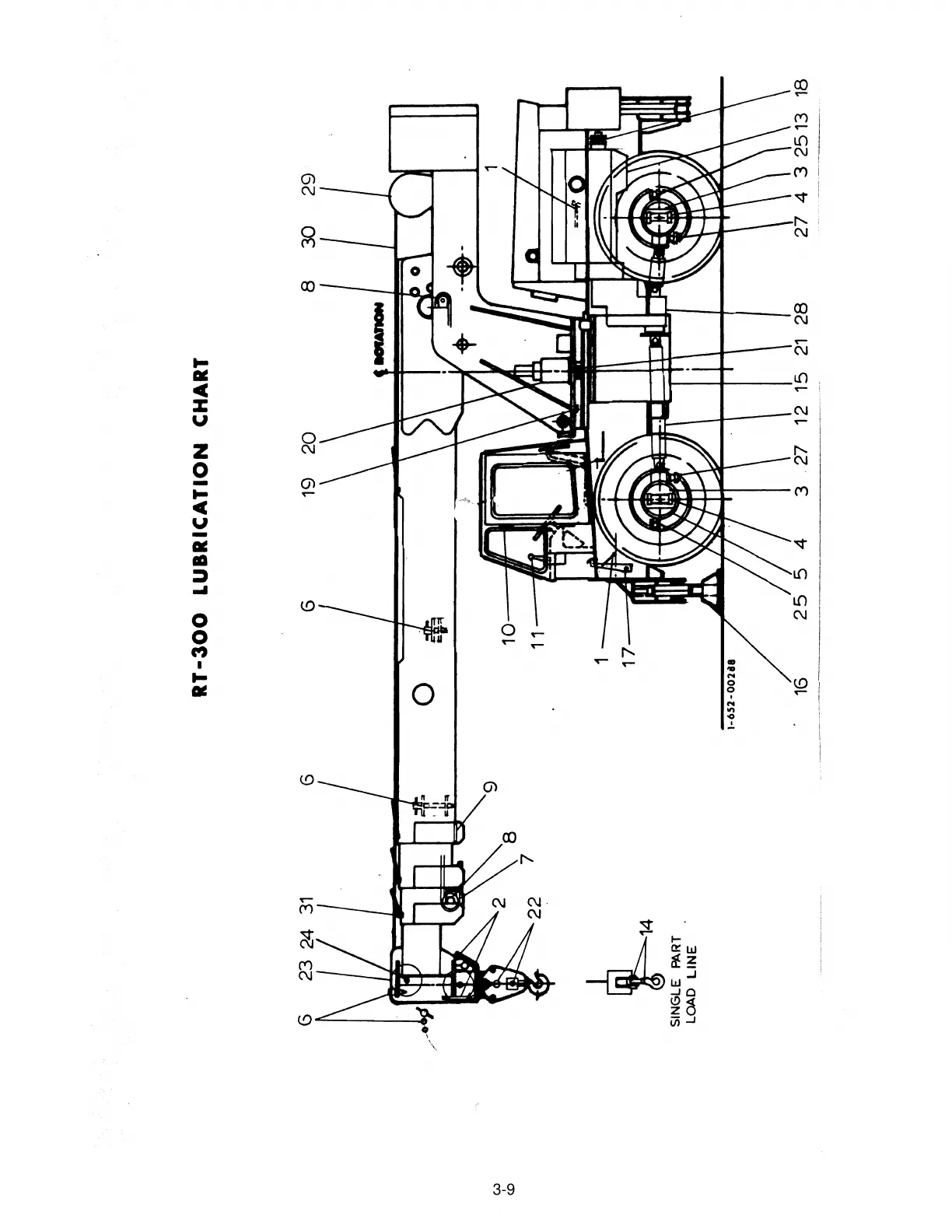
Broderson RT-300-2G - RT-300 LUBRICATION CHART

Default Icon
89 pages
Print Icon
To Next Page IconTo Next Page
To Next Page IconTo Next Page
To Previous Page IconTo Previous Page
To Previous Page IconTo Previous Page
Loading...
3-9
Courtesy of Crane.Market

Related product manuals