EasyManua.ls Logo

Brother MFC-2712DN - Page 302

Brother MFC-2712DN
340 pages
Print Icon
To Next Page IconTo Next Page
To Next Page IconTo Next Page
To Previous Page IconTo Previous Page
To Previous Page IconTo Previous Page
Loading...
5-30
Confidential
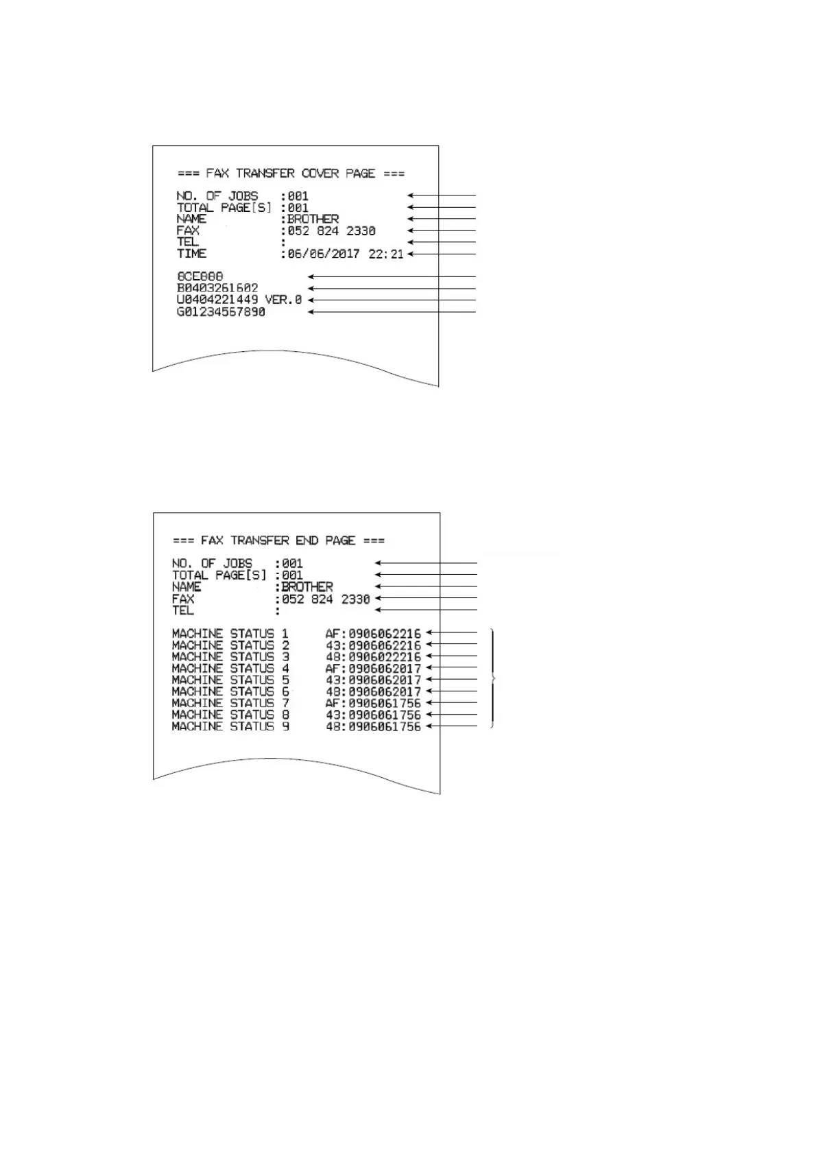
Cover page example
Fig. 5-12
End page example
Fig. 5-13
Job number to identify the transmission
Total number of pages to be transferred
Station ID registered in the sender machine
Fax number of the sender machine
Telephone number of the sender machine
Transfer date and time
Model code
Boot ROM information
ROM information
Serial number
Job number to identify the transmission
Total number of pages to be transferred
Station ID registered in the sender machine
Fax number of the sender machine
Telephone number of the sender machine
Error codes

Table of Contents

Related product manuals