EasyManua.ls Logo

Bryant 926SB - Page 37

Bryant 926SB
76 pages
Print Icon
To Next Page IconTo Next Page
To Next Page IconTo Next Page
To Previous Page IconTo Previous Page
To Previous Page IconTo Previous Page
Loading...
926SB: Installation, Start-up, Operating, Service and Maintenance Instructions
Manufacturer reserves the right to change, at any time, specifications and designs without notice and without obligations.
37
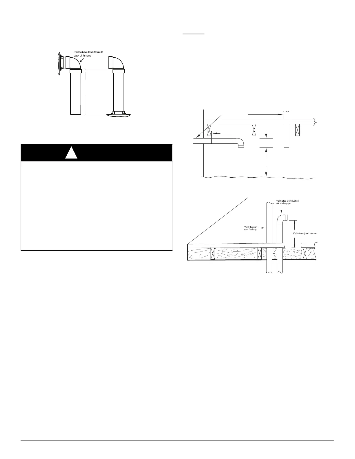
combustion, as well as allow for sound attenuation. To aid sound
attenuation, point the inlet air pipe away from occupants. An extra elbow
and/or five feet of pipe may be used to accomplish the sound attenuation
function.
A13406
Fig. 47 – Combustion Air Pipe Attachment
NOTE: Termination Requirements for the Provinces of Alberta and
Saskatchewan
The Provinces of Alberta and Saskatchewan require a minimum
unobstructed distance of 4 ft. (1.2 M) from the foundation to the property
line of the adjacent lot for vent termination of any appliance with an
input over 35,000 BTUh. If there is less than 4 ft. (1.2 M) of
unobstructed distance to the property line of the adjacent lot, no type of
vent termination is permitted for appliances with inputs greater than
35,000 BTUh.
There are no additional restrictions on unobstructed distances greater
than 8 ft. (2.4 M). All single, two-pipe and concentric vents may be used,
providing all other Code and manufacturer’s requirements in these
instructions are adhered to. Refer to the appropriate Vent Termination
section above for locating the vent termination
If the unobstructed distance from the foundation to the property line of
the adjacent lot is no less than 4 ft. (1.2 M) and no greater than 8 ft. (2.4
M), it will be necessary to re-direct the flue gas plume. In this situation, a
concentric vent kit cannot be used. A 2-pipe termination (or single pipe
termination when permitted) that re-directs the flue gas away by use of
an elbow or tee, certified to ULC S636 from the adjacent property line
must be used. See Fig. 49.
The concentric vent kit currently cannot be modified to attach an elbow
to the vent portion of the rain cap. A tee attached to the rain cap could
potentially direct the flue gas plume toward the intake air stream and
contaminate the incoming combustion air for the furnace.
Refer to Fig. 49 for terminations approved for use in Alberta and
Saskatchewan.
Size the Vent and Combustion Air Pipes
General
Furnace combustion air and vent pipe connections are sized for 2-in. (50
mm ND) PVC/ABS DWV pipe. The combustion air and vent pipe
connections also accommodate 60 mm polypropylene venting systems
with outside diameters of approximately 60 mm (2-3/8 inches). Any pipe
diameter change should be made outside furnace casing in vertical pipe.
Any change in diameter to the pipe must be made as close to the furnace
as reasonably possible. See Fig. 50.
The Maximum Vent Length for the vent and combustion air pipe (when
used) is determined from the Maximum Equivalent Vent Length in
Table 15 minus the number of fittings multiplied by the deduction for
each type of fitting used from Table 16.
A10497
Fig. 48 – Vent Terminations for Ventilated Combustion Air
WARNING
!
CARBON MONOXIDE POISONING HAZARD
Failure to follow the instructions outlined below for each appliance
being placed into operation could result in carbon monoxide poisoning
or death.
For all venting configurations for this appliance and other gas
appliances placed into operation for the structure, provisions for
adequate combustion, ventilation, and dilution air must be provided in
accordance with:
USA Installations: Section 9.3 current edition of NFPA 54/ANSI
Z223.1 Air for Combustion and Ventilation and applicable provisions
of the local building codes.
Canadian Installations: Current edition of Part 8 of
CAN/CSA-B149.1. Venting Systems and Air Supply for Appliances
and all authorities having jurisdiction.
12" (256mm) minimum
to
60”(1524 mm) or
1 additional elbow maximum
CASING SIDE OR TOP ATTACHMENT
COMBUSTION AIR PIPE
(NON-DIRECT VENT FOR ALL MODELS EXCEPT MODULATING UNLESS
INSTALLED IN ATTIC OR CRAWL SPACE)
3” (76 mm)
12” (305 mm)
Pipe hangar
Ventilated Combustion Air
intake termination in crawl
space
Ventilated Combustion
Air intake pipe
CRAWL SPACE
ATTIC
highest level of insulation

Related product manuals