EasyManua.ls Logo

Buehler Vector - Page 31

Buehler Vector
41 pages
Print Icon
To Next Page IconTo Next Page
To Next Page IconTo Next Page
To Previous Page IconTo Previous Page
To Previous Page IconTo Previous Page
Loading...
Vector
®
Power Head Assembly Drawings
Note: Drawings and Parts List are subject to change without notice.
27
MA601990_20 [Original Instructions] 10/04/2010
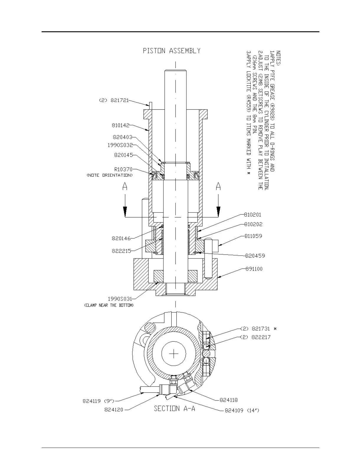
Figure 24 Piston Assembly (1990900D)

Related product manuals