EasyManua.ls Logo

Burnham K2WTC - Page 84

Burnham K2WTC
160 pages
Print Icon
To Next Page IconTo Next Page
To Next Page IconTo Next Page
To Previous Page IconTo Previous Page
To Previous Page IconTo Previous Page
Loading...
84
107774-01 - 9/17
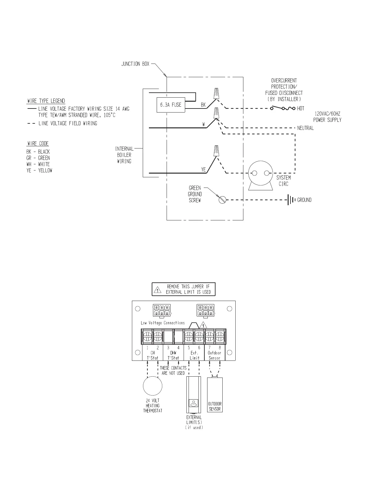
Figure 11.2: Line Voltage Field Connections
Figure 11.3: Low Voltage PCB Terminal Connections
XI. Wiring (continued)

Related product manuals