EasyManua.ls Logo

Canberra ADM300 - Page 48

Default Icon
64 pages
Print Icon
To Next Page IconTo Next Page
To Next Page IconTo Next Page
To Previous Page IconTo Previous Page
To Previous Page IconTo Previous Page
Loading...
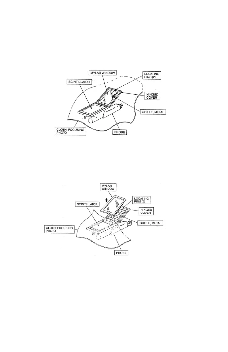
3. With the probe inverted completely cover the probe with a cloth light|
shield and open the hinged cover.
4. Move the cloth light shield so ad to view just the Mylar window and not the
scintillator which covers the photomultiplier tube.
42

Table of Contents

Related product manuals