EasyManua.ls Logo

Candy CH64EXCP - Page 58

Candy CH64EXCP
141 pages
Print Icon
To Next Page IconTo Next Page
To Next Page IconTo Next Page
To Previous Page IconTo Previous Page
To Previous Page IconTo Previous Page
Loading...
K r ó t k i e naciśnięcie przycisku '+' lub '-' powoduje zwiększanie
lub zmniejszanie mocy danej strefy grzejnej: 0-1-2-3...9-P
1. Dłuższe naciśnięcie przycisku '+' lub '-' powoduje ciągłe
zwiększanie/zmniejszanie poziomu mocy. W przypadku szybkiego
zwiększania mocy następuje zatrzymanie na poziomie9iwcelu
dodatkowego zwiększenia mocy konieczne jest kolejne krótkie naciśnięcie
przycisku +. W przypadku szybkiego zwiększania/zmniejszania mocy nie
słychać żadnego sygnału dźwiękowego.
2. W momencie osiągnięcia poziomu mocy P ponowne naciśnięcie
przycisku + nie zmienia poziomu mocy na 0. I podobnie, osiągnięcie
poziomu mocy 0 poprzez naciskanie przycisku - nie powoduje przejścia na
poziom mocy P.
3. Jeśli dana strefa jest włączona i jej poziom mocy to, jeśli jest ona ciepła,
0 będzie migać. Po 10 sekundach 0 zniknie i zamiast niego będzie
wyświetlana litera 'H'.
W przypadku wybrania danej strefy grzejnej i równoczesnego naciskania
przycisków '+' i '-' poziom mocy zostanie zmieniony na '0', ale dana strefa
grzejna nadal będzie wybrana przez 10 sekund. Jeśli dla danej strefy
grzejnej ustawiono regulację czasową, regulator czasowy zostanie
wyłączony. Działanie takie można podjąć wyłącznie w kilku sytuacjach w
zależności od konfiguracji sterowania dotykowego. Poniższe przykłady
podano jedynie w celach orientacyjnych. Osobiste doświadczenia powinny
pozwolić użytkownikowi dostosować te ustawienia do własnych upodobań i
przyzwyczajeń.
Zwiększanie/zmniejszanie poziomu mocy
8 8
8
8
8
8
Blokada zostanie włączona po dotknięciu przycisku blokady.
Następnie przy każdorazowym naciśnięciu przycisku
wyświetlane będzie na 2 sekundy wskazanie „L”. Stan elementów
grzejnych nie ulegnie zmianie.
Aby wyłączyć blokadę rodzicielską, postępuj zgodnie z procedurą
objaśnioną powyżej. Usłyszysz krótki sygnał dźwiękowy i wyświetlane
będzie wskazanie „n”. Płyta kuchenna pozostanie odblokowana.
Uwaga: Automatyczna blokada rodzicielska włącza się na 15 minut po
całkowitym wyłączeniu płyty kuchennej. Funkcja ta będzie się uruchamiać
automatycznie, ale wcześniej wymagane jest zaprogramowanie jej. Patrz
punkt dotyczący ustawień użytkownika.
Blokada rodzicielska
Aby włączyć podwójne rozszerzenie, powiązana strefa główna musi być
już włączona i wskazywany poziom mocy musi być wyższy niż 0.
8.1 - Strefa podwójna włączona
1. krótkie naciśnięcie przycisku rozszerzeń powoduje włączenie
rozszerzenia. Dioda nad tym przyciskiem zaświeca się, jeśli rozszerzenie
zostanie włączone.
2. krótkie naciśnięcie przycisku stref połączonych powoduje włączenie
strefy połączonej. Każdemu naciśnięciu przycisku stref połączonych
towarzyszy krótki sygnał dźwiękowy
8.2 - Strefa potrójna włączona
1. krótkie naciśnięcie przycisku rozszerzeń powoduje włączenie 1.
rozszerzenia. 1 dioda nad tym przyciskiem zaświeca się, jeśli 1.
rozszerzenie zostanie włączone (lewa dioda w przypadku strefy potrójnej,
środkowej i pojedyncza dioda w przypadku strefy podwójnej).
2. krótkie naciśnięcie przycisku rozszerzeń powoduje włączenie 2.
rozszerzenia. 2 diody nad przyciskiem rozszerzeń zaświecają się, jeśli
zostaną włączone 1. i 2. rozszerzenie.
3. krótkie naciśnięcie przycisku rozszerzeń powoduje wyłączenie 1. i 2.
rozszerzenia
Każdemu naciśnięciu przycisku rozszerzeń towarzyszy krótki sygnał
dźwiękowy.
Strefy podwójne/potrójne
8 8
8
8
8
8
8 8
8
8
8
8
Funkcja „Bridge”
Funkcję „Bridge” można włączyć wyłącznie wówczas, kiedy obie strefy
grzejne wyłączone. Po wybraniu jednej strefy grzejnej w celu włączenia
funkcji „Bridge” dotknij przycisku funkcji „Bridge”.
Emitowany jest sygnał dźwiękowy i zaświeca się dioda, jeśli dana strefa
jest aktywna.
Oba elementy grzejne funkcji „Bridge” będą wybrane równocześnie.
Po wybraniu stref grzejnych, jeśli poziom mocy nie jest taki, jak
oczekiwano, należy go zmienić za pomocą przycisków + i -.
Dla obu stref grzejnych funkcji „Bridge” będzie wskazywany jednakowy
poziom mocy. Funkcja ta zostanie wyłączona:
- jeśli przycisk funkcji „Bridge” zostanie dotknięty w trybie ustawień;
- jeśli użytkownik wybierze poziom mocy „0”.
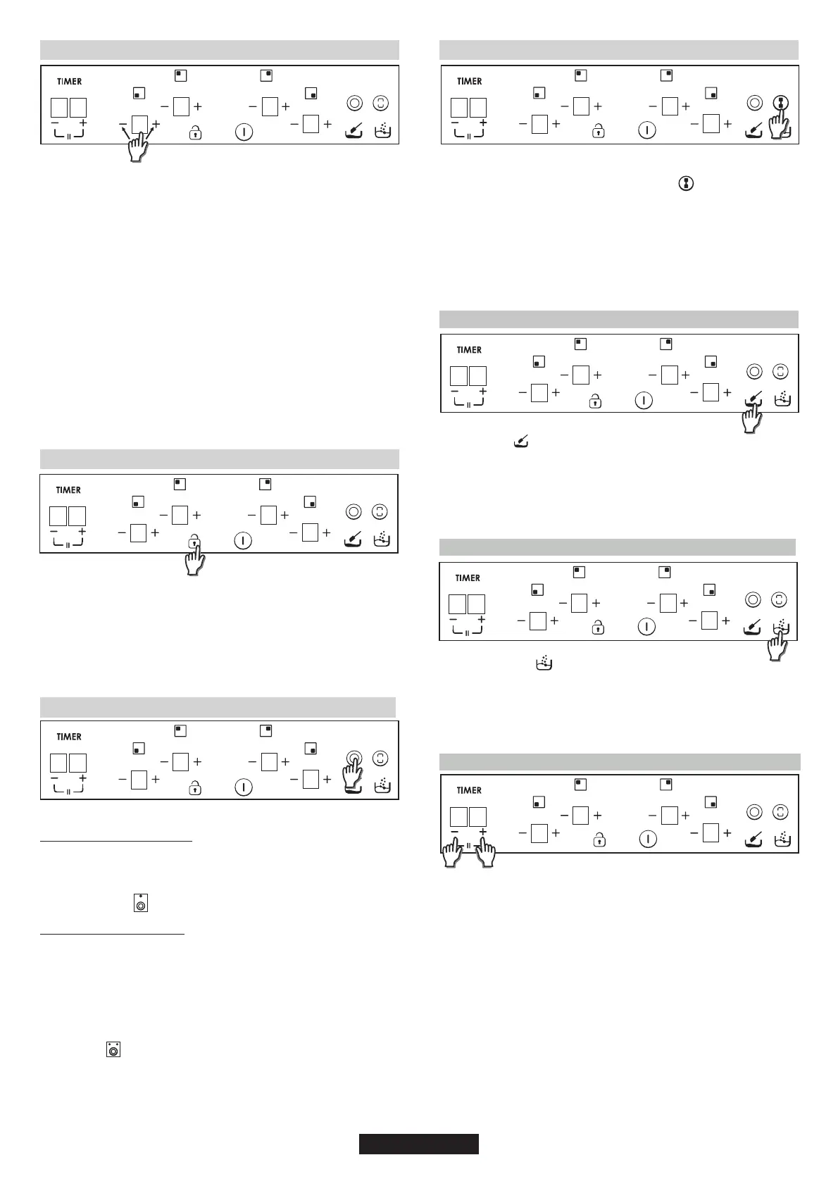
Funkcja roztapiania
Po wybraniu danej strefy grzejnej w celu włączenia funkcji roztap
iania należy:
- dotknąć przycisku funkcji roztapiania ;
Emitowany jest sygnał dźwiękowy i dla danej strefy grzejnej pojawia się
wskazanie „U”. Strefa ta będzie grzać na poziomie mocy „2”.
Działanie funkcji roztapiania dla wybranej strefy grzejnej zakończy się:
- jeśli zostanie ona wyłączona;
- jeśli zostanie wybrany inny poziom mocy.
8 8
8
8
8
8
8 8
8
8
8
8
Funkcja gotowania
Po wybraniu danej strefy grzejnej w celu włączenia funkcji g
otowania należy:
- dotknąć przycisku funkcji gotowania;
Emitowany jest sygnał dźwiękowy i dla danej strefy grzejnej pojawia się
wskazanie „P”.
Strefa grzejna będzie działać na maksymalnym poziomie mocy przez 10
minut. Po upływie tych 10 minut emitowany jest sygnał dźwiękowy i
włączany jest poziom mocy „9”.
8 8
8
8
8
8
FUNKCJA PAUZA
Funkcja Pauza umożliwia tymczasowe przerwanie procesu gotowania,
pozwalając użytkownikom otworzyć gościowi drzwi lub odebrać telefon,
nie martwiąc się, że woda wykipi. Funkcja ta jest również przydatna w
przypadku czyszczenia powierzchni panelu sterowania bez konieczności
zmieniania ustawień procesu gotowania.
Funkcja Pauza jest oznaczona symbolem II. Aby wybrać funkcję,
użytkownik może dotknąć równocześnie przycisków + i pod
minutnikiem.
Uwaga: nie można przerwać działania tylko jednej strefy. Jeśli uaktywnisz
funkcję Pauza, nastąpi przerwanie działania całej płyty kuchennej.
Jak działa funkcja Pauza?
Funkcję Pauza uaktywnia się, dotykając równocześnie i przytrzymując ½
sekundy przyciski + i pod minutnikiem.
- Funkcja Pauza jest aktywna i działanie płyty kuchennej jest zatrzymane;
- Aktualne ustawienie dla elementów grzejnych jest zachowywane i moc
8 8
8
8
8
8
57 PL

Table of Contents

Related product manuals