EasyManua.ls Logo

Carrier BT30RF- EXPR - Page 32

Carrier BT30RF- EXPR
111 pages
Print Icon
To Next Page IconTo Next Page
To Next Page IconTo Next Page
To Previous Page IconTo Previous Page
To Previous Page IconTo Previous Page
Loading...
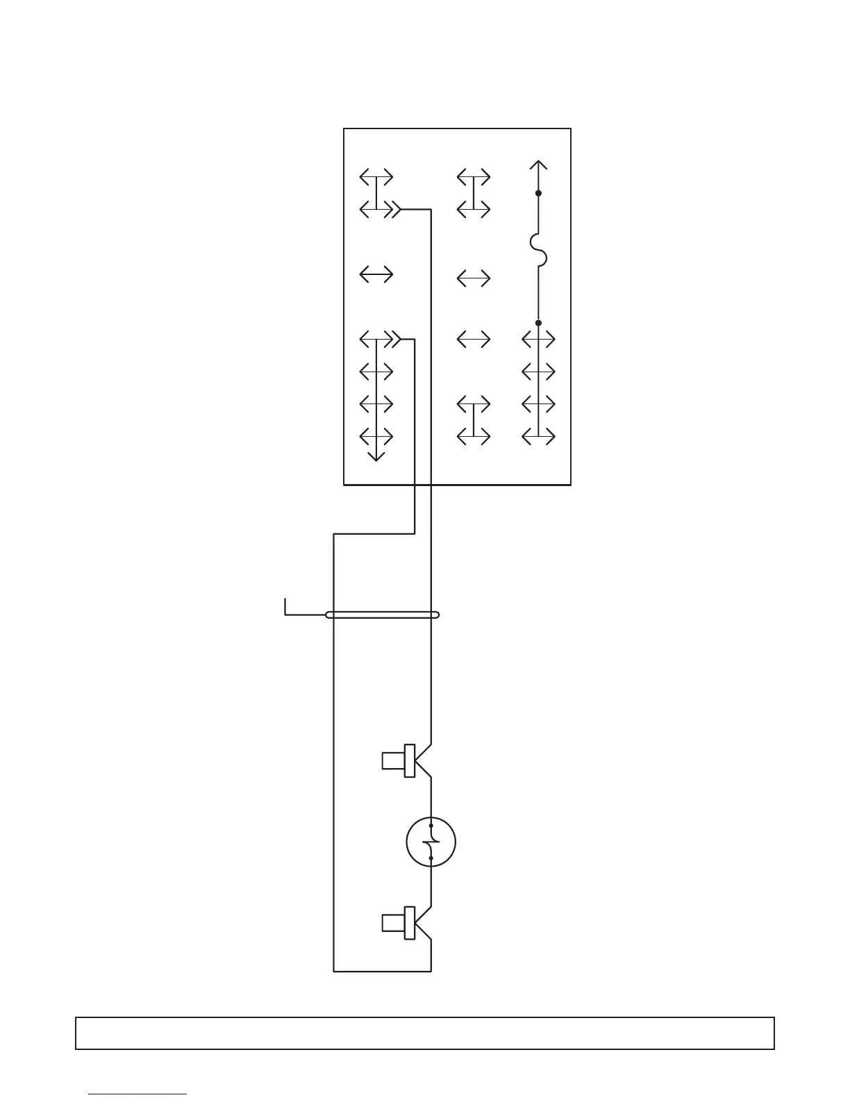
SOLENOID WIRING DIAGRAM – 00-0060-00
RD
5 AMP-125/250V
BK
BN
BE
WE
PE
OE
YW
WE
MODELS
INSTALL ON REMOTE
SOLENOID VALVE
LIQUID LINE
BK BK OE
HARNESS- SOLENOID VALVE
WIRING DIAGRAM 31

Related product manuals