EasyManua.ls Logo

Carrier BT30RF- EXPR - Page 33

Carrier BT30RF- EXPR
111 pages
Print Icon
To Next Page IconTo Next Page
To Next Page IconTo Next Page
To Previous Page IconTo Previous Page
To Previous Page IconTo Previous Page
Loading...
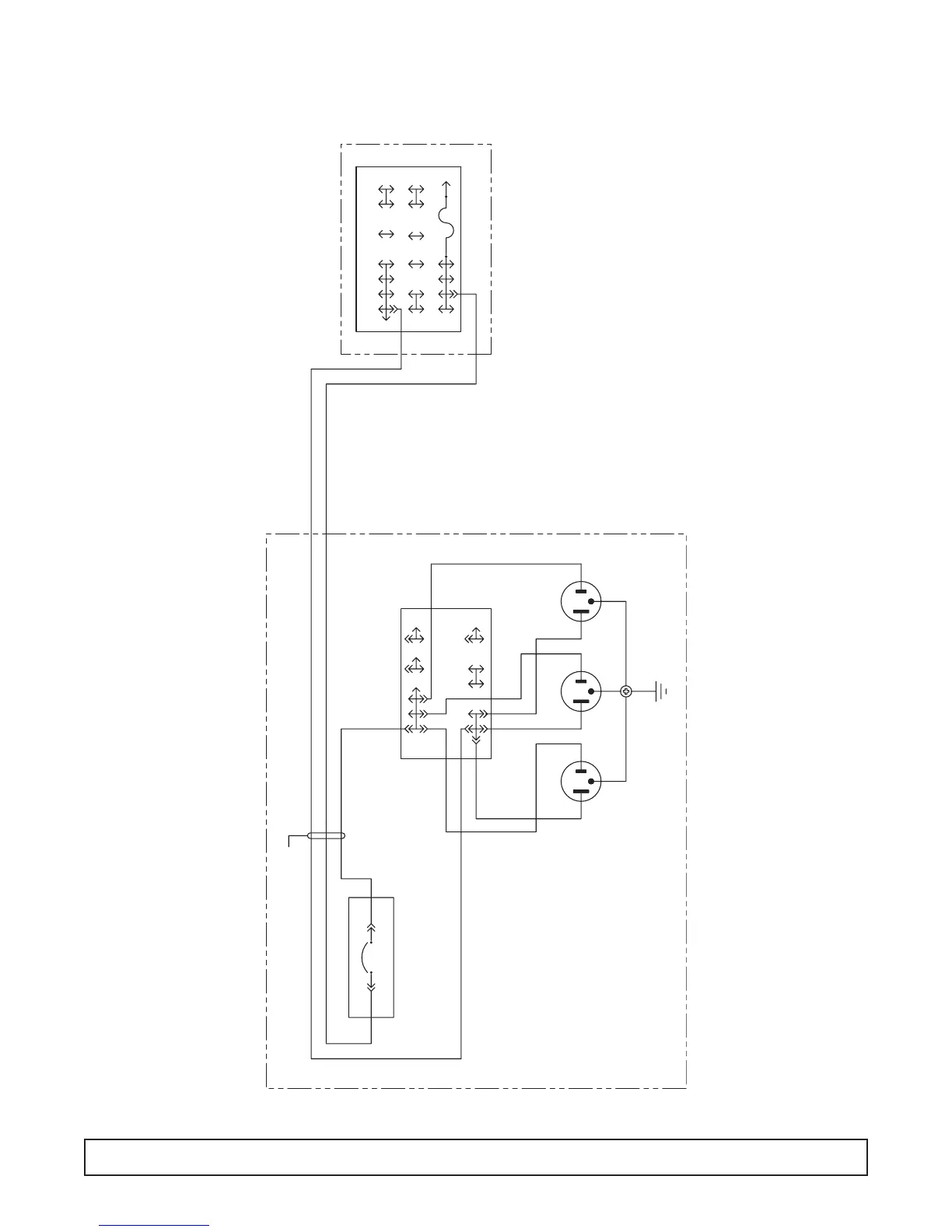
RECEPTACLE BOX/LIGHT WIRING DIAGRAM – 00-0059-00
GN
BK BK
CIRCUIT BREAKER
TERMINAL BLOCK
GN
GN
TERMINAL BLOCK
RD BE
BK
WE
5 AMP-125/250V
PE BN
YW OE
HARNESS- RECEPTACLE BOX SUPPLY
BKWE
WE BK
WE
WE
BK
BKBKBKWE WE WE
BK
RECEPTACLE BOX- BACK OF CAVITY
ELECTRICAL BOX
32 WIRING DIAGRAM

Related product manuals