EasyManua.ls Logo

Casio SF-4900ER - To Perform the Currency Conversion

Casio SF-4900ER
118 pages
Print Icon
To Next Page IconTo Next Page
To Next Page IconTo Next Page
To Previous Page IconTo Previous Page
To Previous Page IconTo Previous Page
Loading...
92
PART 5 Calculator Functions
3. Press
2 to select RATE TABLE.
Press ESC to return to the Euro Conversion Mode initial screen.
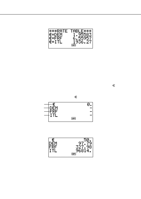
To perform the currency conversion
The following examples assume that the pre-programmed currencies DEM, FRF
and ITL are already selected.
Example 1
How many 2 DEM (marks), 3 FRF (francs) and 4 ITL (lira) are 1 50
(euros)?
1. Enter the Euro Conversion Mode.
2. Use K and L to move the cursor to (euros).
3. Input 5 0.
4. Press
SET or =.
1
2
3
4

Table of Contents

Related product manuals