EasyManua.ls Logo

Central Machinery 46813 - Assembly Diagram B

Central Machinery 46813
37 pages
Print Icon
To Next Page IconTo Next Page
To Next Page IconTo Next Page
To Previous Page IconTo Previous Page
To Previous Page IconTo Previous Page
Loading...
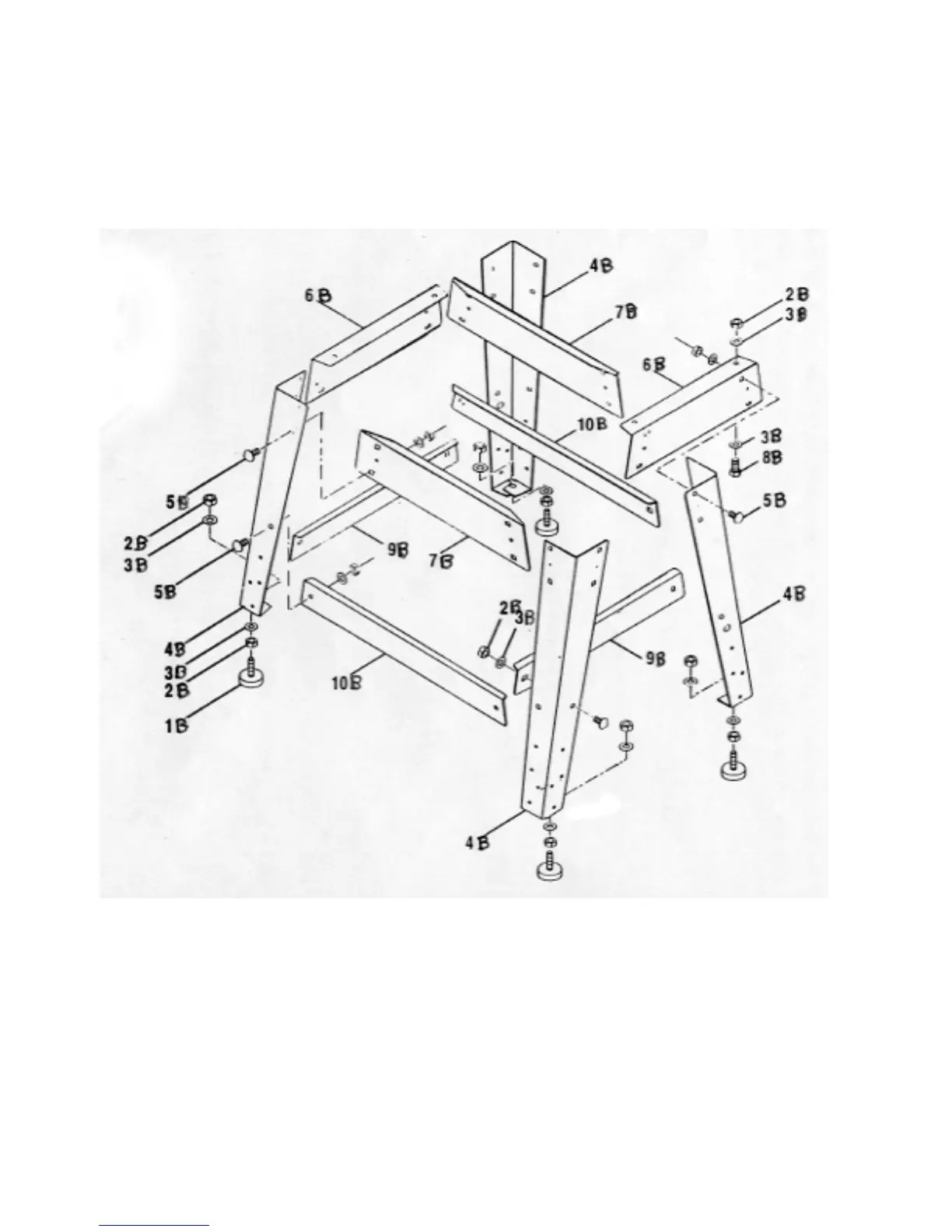
ASSEMBLY DIAGRAM B
NOTE: Some parts are listed and shown for illustration purposes only, and are not
available individually as replacement parts.
SKU 46813 PAGE 30

Related product manuals