EasyManua.ls Logo

CESAB B 200 - Page 323

CESAB B 200
460 pages
Print Icon
To Next Page IconTo Next Page
To Next Page IconTo Next Page
To Previous Page IconTo Previous Page
To Previous Page IconTo Previous Page
Loading...
11-35
0
1
2
3
4
5
6
7
8
9
11
11
11
14
14
15
16
16
18
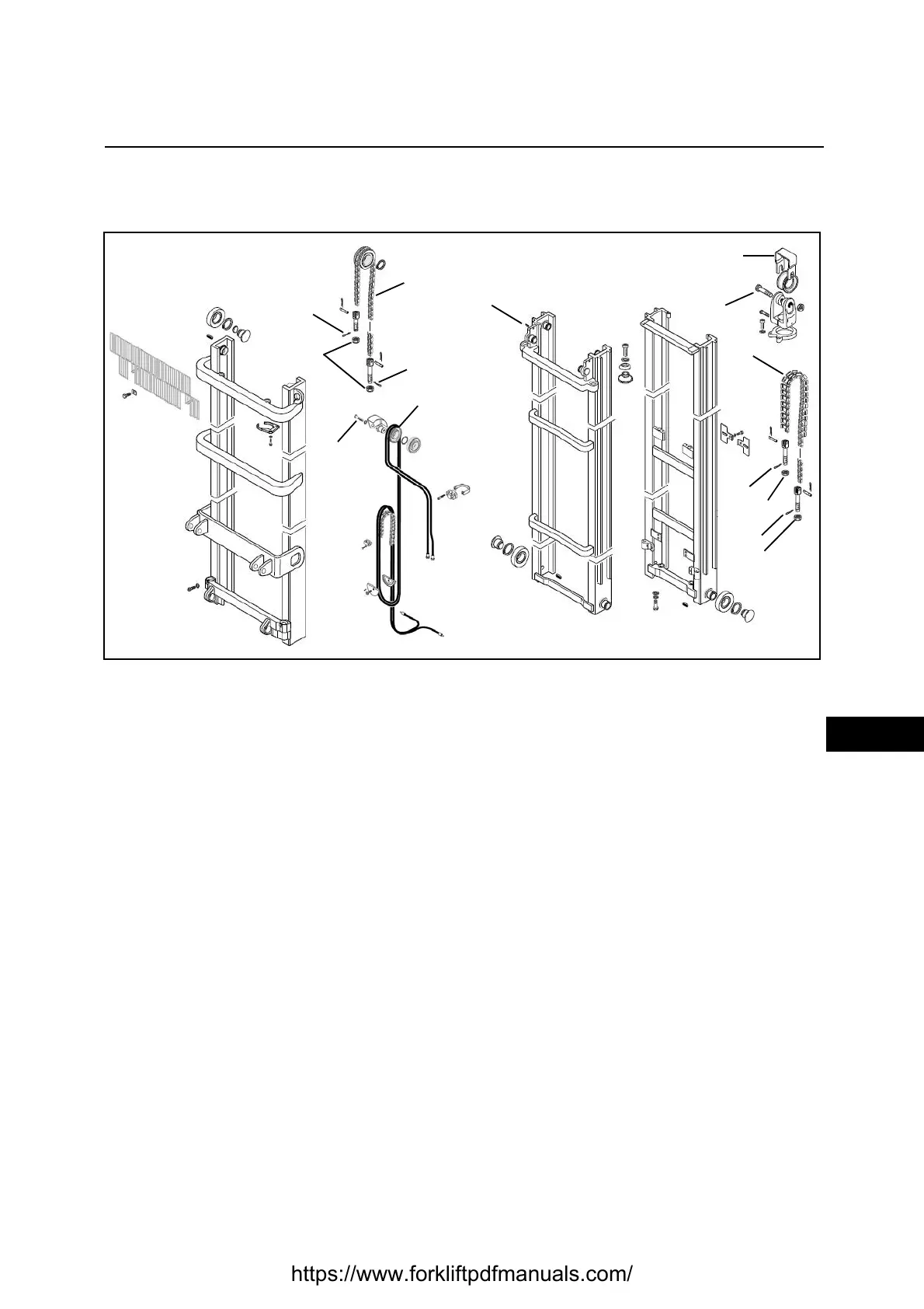
THIRD WAY SYSTEM (CHAINS) - MAST 3M FFL
REMOVAL • INSTALLATION
Removal procedure
1. Tilt the mast forwards and lock the mobile mast and carriage using appropriately sized and protected
eye bolts and belts
2. Lower the mast to prevent the supply pipes from remaining in tension
3. Loosen the pulley fixing screws
4. Remove the support
5. Remove the split pin [Point 1]
6. Remove the nut
7. Remove the chain [Point 2]
8. Remove the pulley fixing screws
9. Remove the third way supply pulley, including the pin and the fixing ring [Point 3]
10. Remove the plug [Point 4]
11. Remove the split pin [Point 5]
12. Remove the nut
13. Remove the chain [Point 6]
Installation procedure
The reassembly procedure is the reverse of the disassembly procedure.
Remarks:
Install new split pins
Install a new plug
3
6
4
5
3
8
9
10
11
13
12
11
7
5
6
https://www.forkliftpdfmanuals.com/

Table of Contents