EasyManua.ls Logo

Cessna 152 1978 - Page 114

Cessna 152 1978
192 pages
Print Icon
To Next Page IconTo Next Page
To Next Page IconTo Next Page
To Previous Page IconTo Previous Page
To Previous Page IconTo Previous Page
Loading...
CESSNA AIRCRAFT COMPANY FOR TRAINING USE ONLY
MODEL 152 7-18
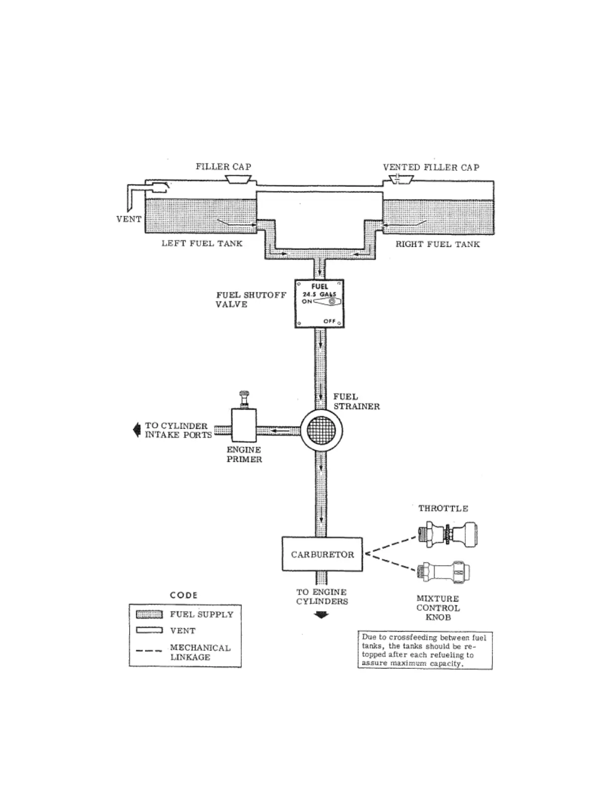
equipped with a check valve, and protrudes from the bottom surface of the left wing near the wing strut
attach point. The right fuel tank filler cap is also vented.
Fuel quantity is measured by two float-type fuel quantity transmitters (one in each tank) and indicated
by two electrically-operated fuel quantity indicators on the lower left portion of the instrument panel.
Figure 7-6. Fuel System (Standard and Long Range)

Table of Contents

Related product manuals