EasyManua.ls Logo

Chamberlain 3112EM FS2 - Attach T-Rail to Header Bracket

Chamberlain 3112EM FS2
80 pages
Print Icon
To Next Page IconTo Next Page
To Next Page IconTo Next Page
To Previous Page IconTo Previous Page
To Previous Page IconTo Previous Page
Loading...
19
Clevis Pin
5/16" x 2-3/4"
Ring Fastener
HARDWARE SHOWN ACTUAL SIZE
Header Bracket
Chain Pulley
Bracket
Temporary
Support
Header Wall
Garage
Door
Rail
Clevis Pin
5/16"x2-3/4"
Ring Fastener
Header Bracket
Chain
Pulley
Bracket
Rail
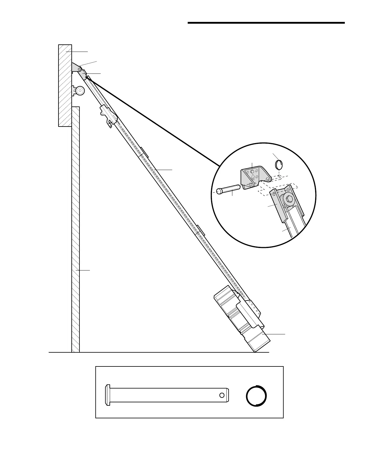
INSTALLATION STEP 3
Attach the T-Rail to the Header
Bracket
Position the opener on the garage floor below the
header bracket. Use packing material as a protective
base.
NOTE: If the door spring is in the way you’ll need help.
Have someone hold the opener securely on a temporary
support to allow the rail to clear the spring.
Position the rail bracket against the header bracket.
Align the bracket holes and join with a clevis pin
as shown.
Insert a ring fastener to secure.

Table of Contents

Related product manuals