EasyManua.ls Logo

Chamberlain 3112EM FS2 - Coloque el Riel en la Ménsula del Cabezal

Chamberlain 3112EM FS2
80 pages
Print Icon
To Next Page IconTo Next Page
To Next Page IconTo Next Page
To Previous Page IconTo Previous Page
To Previous Page IconTo Previous Page
Loading...
19
Seguro de aro
Pasador de chaveta
5/16"x2-3/4"
ESTAS PIEZAS SE MUESTRAN EN SU TAMAÑO REAL
Ménsula
Ménsula
Soporte
temporal
Puerta del
garaje
Riel
Riel
Soporte de cabecera
Pared de cabecera
Soporte de
cabecera
Pasador de
chaveta
5/16X2-3/4"
Seguro de aro
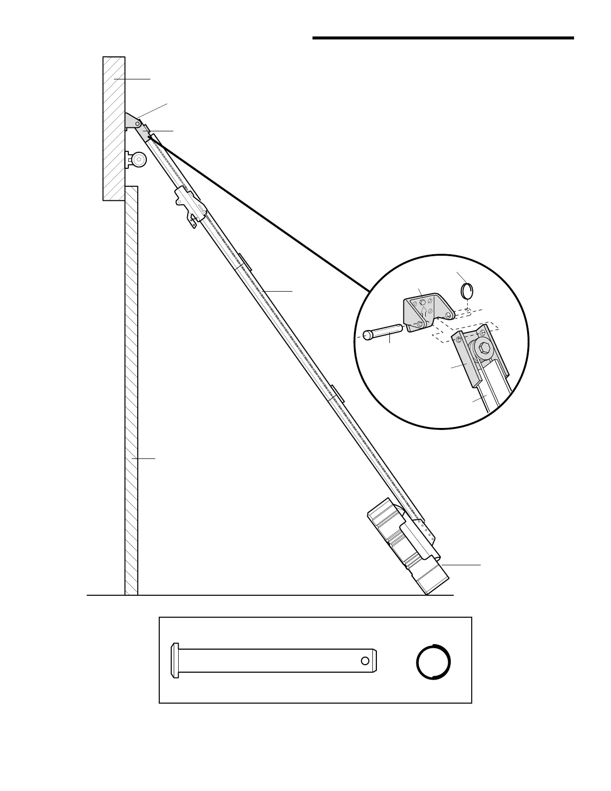
INSTALACIÓN PASO 3
Coloque el riel en la ménsula del cabezal
Coloque el abre-puertas sobre el piso del garaje debajo de la
ménsula del cabezal. Use el hule espuma del empaque como
base para protegerlo.
NOTA: Si el resorte de la puerta está obstruido, va a necesitar
ayuda. Otra persona tendrá que sostener el abre-puertas
firmemente sobre un soporte temporal para ayudarle a que el
riel pueda separarse del resorte.
Coloque la ménsula del riel junto a la ménsula del cabezal.
Alinee los orificios de las ménsulas y júntelas con un pasador
de chaveta como se muestra en la ilustración.
Sujételos con un anillo sujetador.

Table of Contents

Related product manuals