EasyManua.ls Logo

Chauvet CORE - Power Linking

Chauvet CORE
23 pages
Print Icon
To Next Page IconTo Next Page
To Next Page IconTo Next Page
To Previous Page IconTo Previous Page
To Previous Page IconTo Previous Page
Loading...
Page 8 of 23 CORE™ 3x3 User Manual Rev. 1
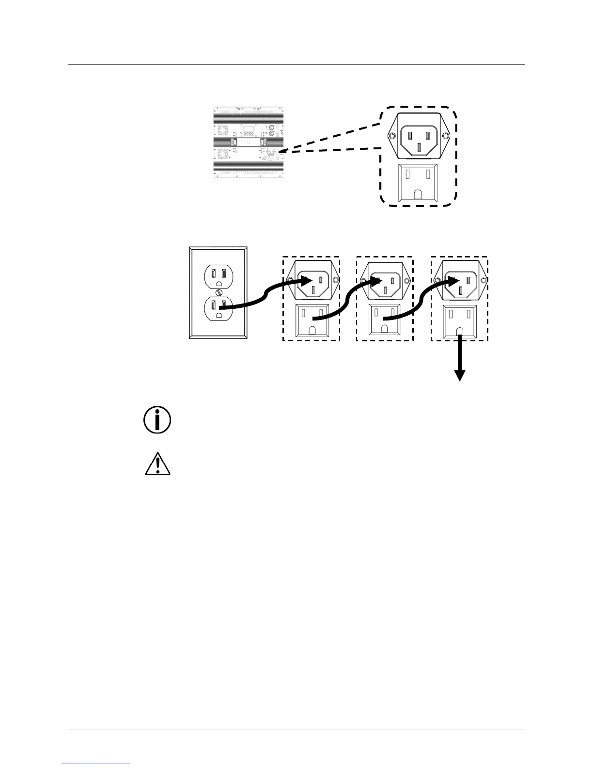
Power Linking
The product provides power linking via the Edison/IEC outlet located in the back of the
unit.
Power Linking
Diagram
You can power link up to 3 CORE™ 3x3 units on 120 VAC or up to 7 CORE™ 3x3
units on 230 VAC.
The power linking diagram shown above corresponds to the North American
version of the product ONLY! If using the product
in other markets, you must
consult with the local CHAUVET® distributor as power linking connectors and
requirements may differ in your country or region.
1
st
Product
2
nd
Product
3
rd
Product
Additional Products

Related product manuals