EasyManua.ls Logo

Chigo CHV Mini Series - Electric Wiring Installations

Chigo CHV Mini Series
109 pages
Print Icon
To Next Page IconTo Next Page
To Next Page IconTo Next Page
To Previous Page IconTo Previous Page
To Previous Page IconTo Previous Page
Loading...
76 201908
CHV Mini Series Service Manual
CHV Mini VRF 50/60Hz
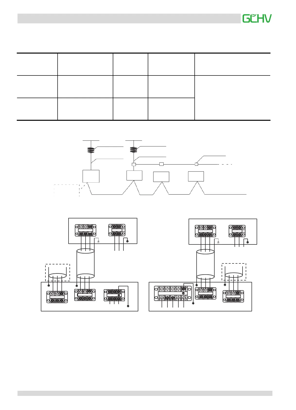
4. Electric Wiring Installations
4.1 Outdoor unit wiring
Power line of outdoor unit
Junctionbox
Power line of indoorunit
Outdoor unit Indoor unit Indoor unit Indoor unit
Centralized
controller CCM
Power supply Power supply
Switch / power supply Switch / power supply
X Y E
P Q E
Indoor unit
Outdoor unit
Y/G
L N
Three-core
shielded cable
Three-core shielded
cable tocentralized
controller
Single-phasepower supply
220V-50Hz/60Hz
Single-phase power supply
220V-50Hz/60Hz
L N
Y/G
P Q E
Single-phase power supply
220V-50Hz/60Hz
Three-phase power supply 380V3N-50Hz/60Hz
Three-core
shieldedcable
L1 L2 L3
Indoor unit
Outdoor unit
Y/G
P Q E
L N
Y/G
N
P Q E
X Y E
Three-core
shielded cable
to centralized
controller
Capacity (kW) Power Supply
Power Line
(mm2)
Breaker/Fuse (A)
Signal Wire between Indoor and
Outdoor
Units (mm)
8/10 220-240V 50Hz/60Hz
3×4.0
40/30
three-core shielded cable 3×1.0
12.5/14/16 220-240V 50Hz/60Hz
3×6.0
63/45

Related product manuals