EasyManua.ls Logo

Cimbali S39 - Page 7

Cimbali S39
29 pages
Print Icon
To Next Page IconTo Next Page
To Next Page IconTo Next Page
To Previous Page IconTo Previous Page
To Previous Page IconTo Previous Page
Loading...
6
Installation
CONNECTIONS WHICH MUST BE
PREPARED BY THE CUSTOMER
Min. Ø 2 inches
Ø 3/8 GAS
SWITCH:
SEE POINT 7 OF THE NOTICE FOR THE
SERVICEMAN
GROUNDING: COMPULSORY
DRAIN
Water feeding tap
WATER MAINS MAX. PRESSURE
87 psi (6 bar)
(for pressure beyond this value,
install a pressure reducer)
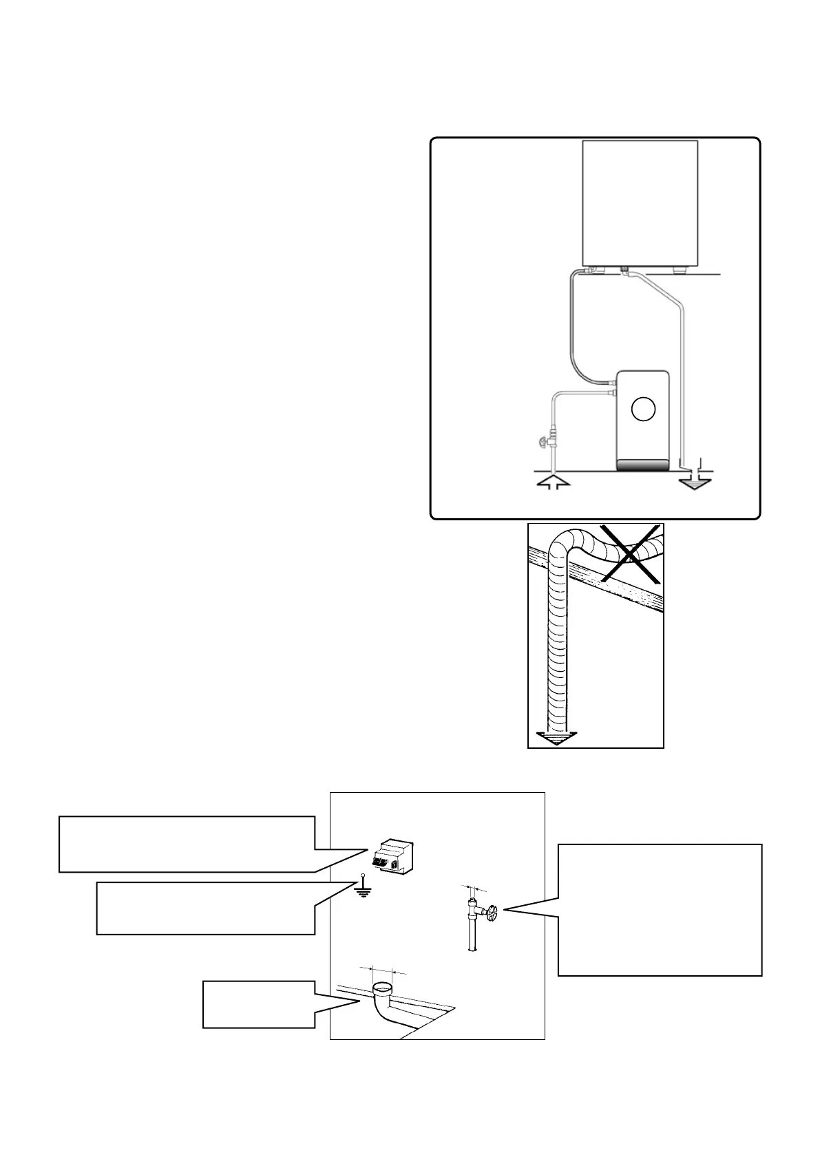
HYDRAULIC CONNECTION
Place the machine on a perfectly levelled surface, adjusting
and then xing the feet in place.
Make the hydraulic connections as per Figure 1, in conformity to the
hidraulics safety laws in force in the country of installation. Only new
connections must be used to hook up the machine to the water supply.
Remember to put the relevant washer in the junctions between the
tubes and the connectors.
If water hardness is higher than 8° F, it is advised to install a
water softener and, possibly, a non return valve before it. For
the choice, please comply with local hygiene laws.
If the machine is fed with water with a hardness of over 8° F,
a specic maintenance plan must be implemented to ensure
correct functioning of the machine.
The amount of chlorine in the water must not exceed 100 mg/l;
otherwisw, install the appropriate devices.
N.B.: if the main pressure could rise above 87 psi (6 bar),
install a pressure reducer calibrated at 29÷43 psi (2÷3 bar)
before the softener.
Drain tube: place one end of the drain tube into a tank with a
siphon for inspection and cleaning.
Assemble the cup tray. Rest it on the guides and push, ensuring
that the connection piece with gasket is correctly inserted into
the disposal tube junction.
IMPORTANT: The disposal tube must NOT bend as in
Figure 2.
ATTENTION: This equipment is to be installed to comply
with the applicable federal, state or local plumbing codes
having jurisdiction.
Fig. 2
MACHINE
A) possible device for the treatment of the water
A
Fig. 1

Related product manuals