EasyManua.ls Logo

Clas Ohlson BC168 - Painikkeet Ja Toiminnot

Clas Ohlson BC168
24 pages
Print Icon
To Next Page IconTo Next Page
To Next Page IconTo Next Page
To Previous Page IconTo Previous Page
To Previous Page IconTo Previous Page
Loading...
16
Suomi
1
2
3
4
5
6
7
CO
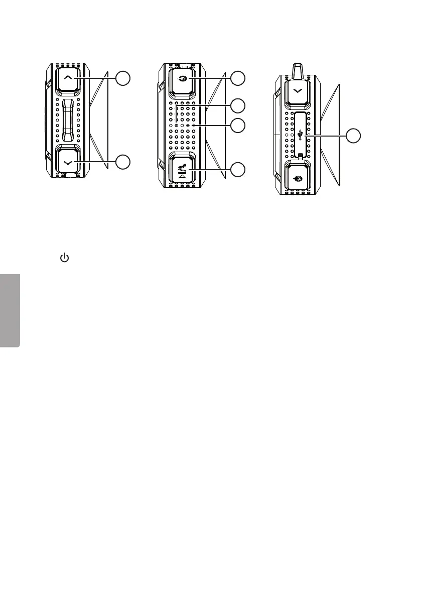
Painikkeet ja toiminnot
1. [ - ] Vähennä äänenvoimakkuutta pitämällä painiketta pohjassa, vaihda edelliseen
raitaan painamalla lyhyesti.
2. [ + ] Lisää äänenvoimakkuutta pitämällä painiketta pohjassa, vaihda seuraavaan
raitaan painamalla lyhyesti.
3. [ ] Virtakytkin
4. Mikrofoni
5. LED-merkkivalo
- Punainenvalo: lataus käynnissä (merkkivalo sammuu, kun lataus on valmis).
- Nopeasti vilkkuva sininenvalo: kaiutin on Bluetooth-laitteiden hakutilassa.
- Hitaasti vilkkuva sininenvalo: kaiutin on liitetty Bluetooth-laitteeseen.
6. [ ll /
] Play/pause. Puheluun vastaaminen, puhelun lopettaminen ja hylkääminen.
7. Latauskaapelin Mikro-USB-liitäntä
Käyttö
Lataaminen
Huom.! Lataaakkua ennen ensimmäistä käyttökertaa, kunnes latauksen merkkivalo
sammuu.
1. Liitä mukana oleva latauskaapeli kaiuttimen liitäntään (7) ja tietokoneeseen tai
muuhun USB-laturiin. Merkkivalo (5) palaa punaisena latauksen aikana ja sammuu,
kun lataus on valmis.
2. Kaiuttimen tulee olla sammutettu, kun sitä ladataan. Lataus kestää paljon
pidempään, jos lataat kaiutinta toiston aikana.

Related product manuals