EasyManua.ls Logo

Commodore Computers 1541 - Power Supply

Default Icon
58 pages
Print Icon
To Next Page IconTo Next Page
To Next Page IconTo Next Page
To Previous Page IconTo Previous Page
To Previous Page IconTo Previous Page
Loading...
1541 CIRCUIT THEORY
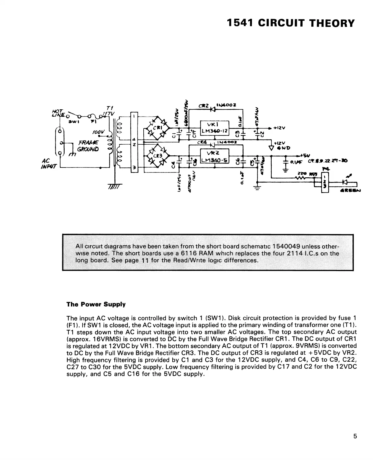
The Power Supply
The input AC voltage is controlled by switch 1 (SW1). Disk circuit protection is provided by fuse 1
(F1). If SW1 is closed, the AC voltage input is applied to the primary winding of transformer one (T1).
T1 steps down the AC input voltage into two smaller AC voltages. The top secondary AC output
(approx. 16VRMS) is converted to DC by the Full Wave Bridge Rectifier CR1. The DC output of CR1
is regulated at 12VDC by VR1. The bottom secondary AC output of T1 (approx. 9VRMS) is converted
to DC by the Full Wave Bridge Rectifier CR3. The DC output of CR3 is regulated at + 5VDC by VR2.
High frequency filtering is provided by C1 and C3 for the 12VDC supply, and C4, C6 to C9, C22,
C27 to C30 for the 5VDC supply. Low frequency filtering is provided by C17 and C2 for the 12VDC
supply, and C5 and C16 for the 5VDC supply.
5