EasyManua.ls Logo

Commodore Computers 1541 - Resistance Checks

Default Icon
58 pages
Print Icon
To Next Page IconTo Next Page
To Next Page IconTo Next Page
To Previous Page IconTo Previous Page
To Previous Page IconTo Previous Page
Loading...
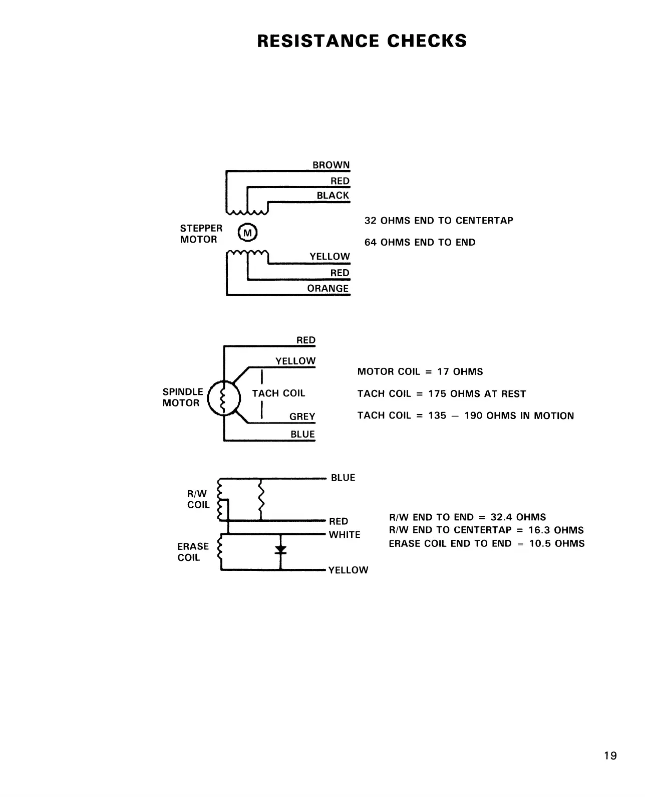
RESISTANCE CHECKS
BROWN
RED
BLACK
YELLOW
RED
ORANGE
32 OHMS END TO CENTERTAP
64 OHMS END TO END
SPINDLE
MOTOR
RED
MOTOR COIL = 17 OHMS
TACH COIL = 175 OHMS AT REST
TACH COIL = 135 - 190 OHMS IN MOTION
R/W
COIL
ERASE
COIL
BLUE
RED
WHITE
YELLOW
R/W END TO END = 32.4 OHMS
R/W END TO CENTERTAP = 16.3 OHMS
ERASE COIL END TO END = 10.5 OHMS
19