EasyManua.ls Logo

Commodore Computers 1541 - Clock Circuits

Default Icon
58 pages
Print Icon
To Next Page IconTo Next Page
To Next Page IconTo Next Page
To Previous Page IconTo Previous Page
To Previous Page IconTo Previous Page
Loading...
1541 CIRCUIT THEORY
+5V
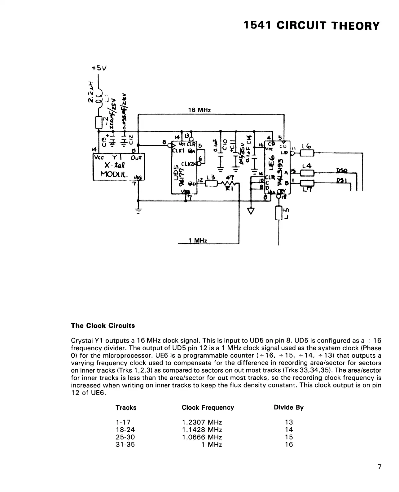
The Clock Circuits
Crystal Y 1 outputs a 16 MHz clock signal. This is input to UD5 on pin 8. UD5 is configured as a + 16
frequency divider. The output of UD5 pin 12 is a 1 MHz clock signal used as the system clock (Phase
0) for the microprocessor. UE6 is a programmable counter (16, + 15, + 14, h- 13) that outputs a
varying frequency clock used to compensate for the difference in recording area/sector for sectors
on inner tracks (Trks 1,2,3) as compared to sectors on out most tracks (Trks 33,34,35). The area/sector
for inner tracks is less than the area/sector for out most tracks, so the recording clock frequency is
increased when writing on inner tracks to keep the flux density constant. This clock output is on pin
12 of UE6.
Tracks Clock Frequency Divide By
1-17 1.2307 MHz 13
18-24
1.1428 MHz
14
25-30
1.0666 MHz
15
31-35
1 MHz 16
7