EasyManua.ls Logo

Cooper VW - Closing Solenoid and Hydraulic Parts

Cooper VW
24 pages
Print Icon
To Next Page IconTo Next Page
To Next Page IconTo Next Page
To Previous Page IconTo Previous Page
To Previous Page IconTo Previous Page
Loading...
Types VW and VWV Maintenance Instructions
22
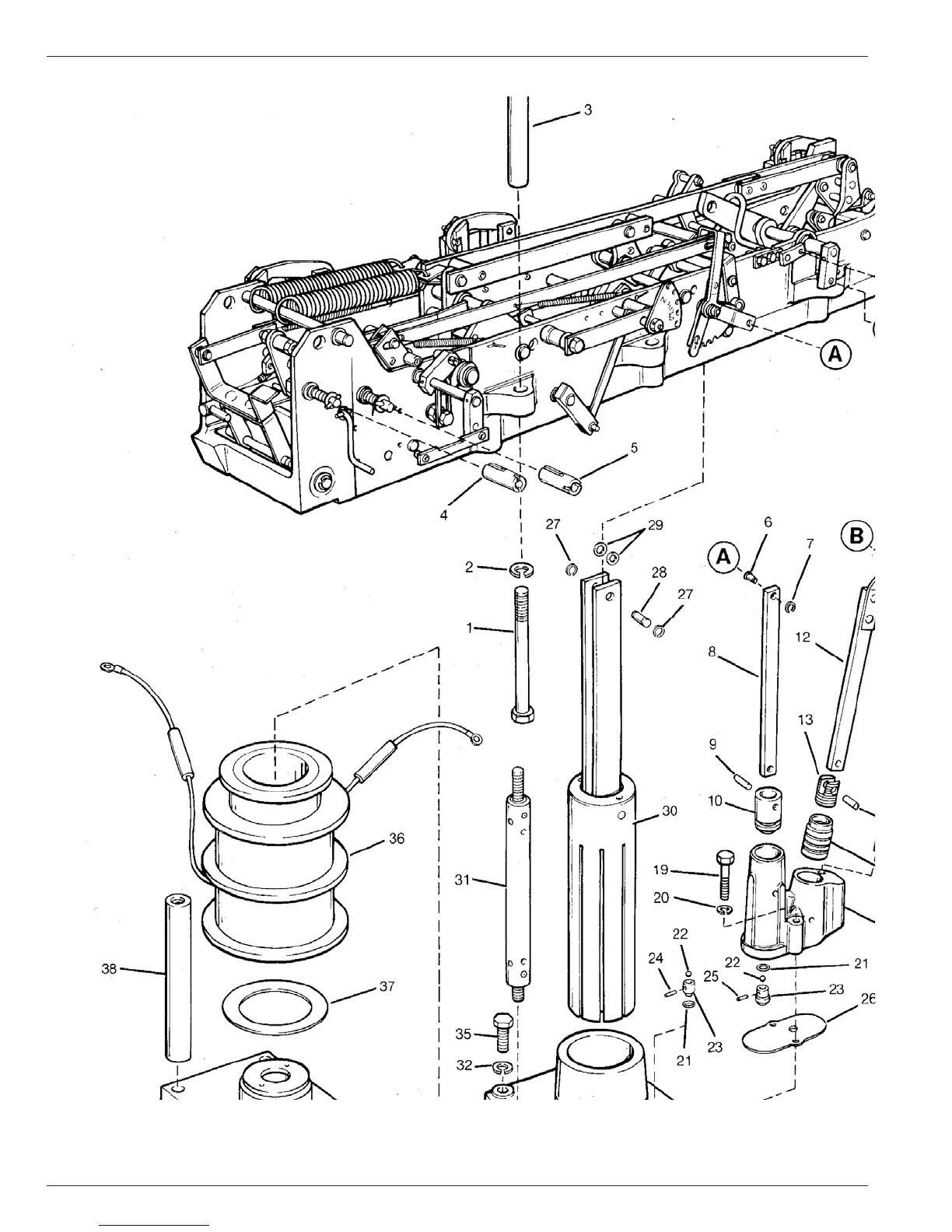
Figure 28.
Closing solenoid and hydraulic control parts.

Related product manuals