EasyManua.ls Logo

Cornelius CB3023 - IntelliCarb Back Room Plumbing and Settings

Cornelius CB3023
42 pages
Print Icon
To Next Page IconTo Next Page
To Next Page IconTo Next Page
To Previous Page IconTo Previous Page
To Previous Page IconTo Previous Page
Loading...
IntelliCarb Drop-In Ice Cooled Installation Guide
Publication Number: 630460204INS - 26 - © 2003-2017, Cornelius Inc.
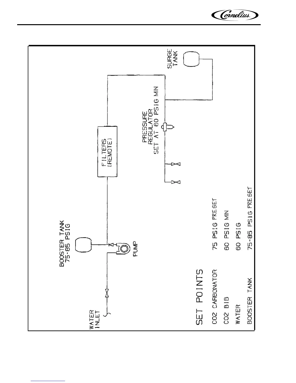
IntelliCarb Back Room Plumbing and Settings
Figure 19.

Related product manuals