EasyManua.ls Logo

CUSHCRAFT HV-4E - Upper Mast Attachment

CUSHCRAFT HV-4E
16 pages
Print Icon
To Next Page IconTo Next Page
To Next Page IconTo Next Page
To Previous Page IconTo Previous Page
To Previous Page IconTo Previous Page
Loading...
Cushcraft HV4E Vertical Antenna
Version 0 8 2024 Cushcraft
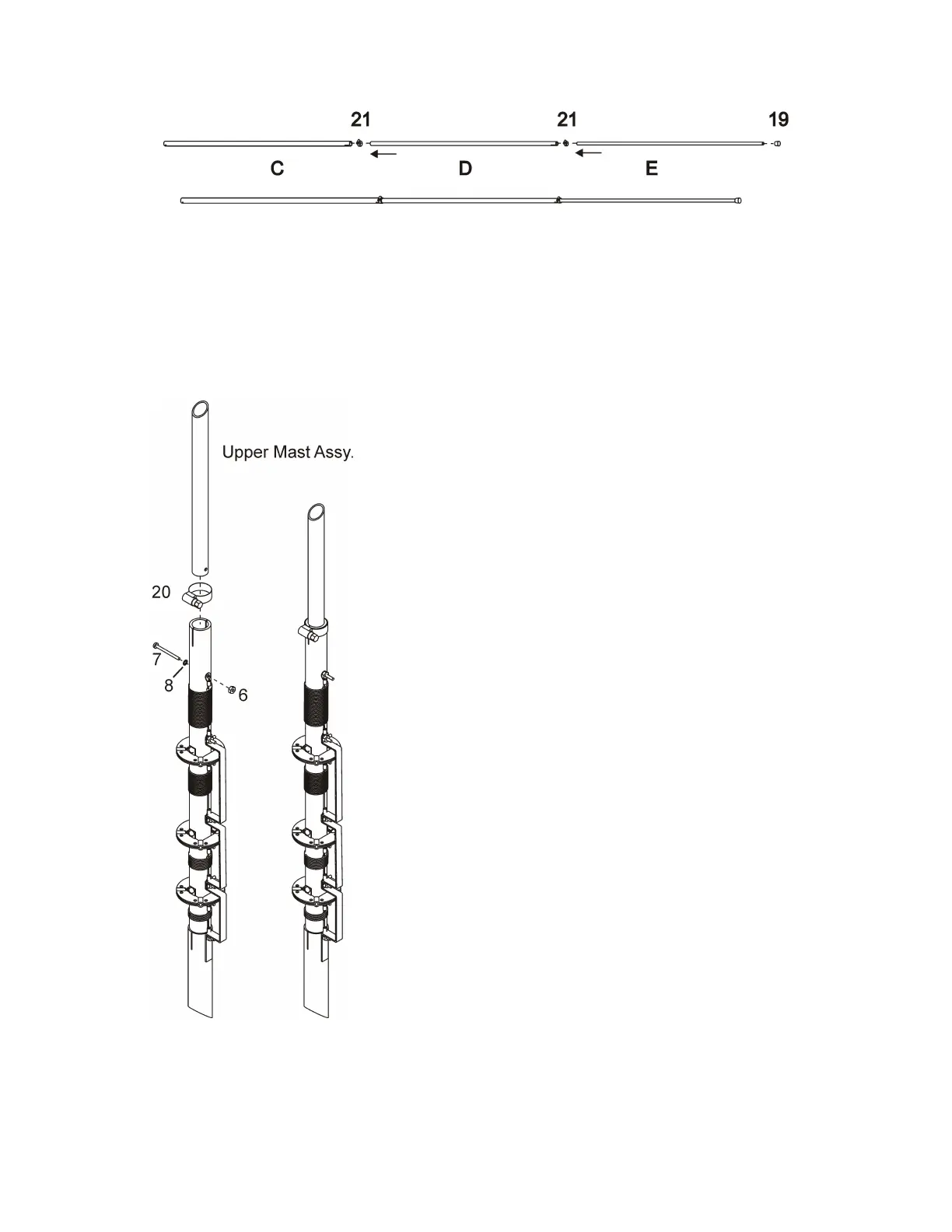
Slip section D non-slotted end into section C slotted end about 2 inches and clamp with the 0.875” hose
clamp (21). Slip section E into section D slotted end about 2 inches and clamp with the 0.875” hose clamp
(21). Slip the end cap (19) over the section C end. The final length will be adjusted when tuning the 40M
band.
Upper Mast Attachment
Slip the upper mast assembly and the 1.25” hose clamp (20) into the
loading coil assembly and align the holes then slide the 6-32x1.5 SS
screw (7) and #6 lockwasher (8) through the holes and the solder
lug. Attach the 6-34 KEP nut (6) to the screw and tighten down.
Tighten the hose clamp.

Related product manuals