EasyManua.ls Logo

Da-Lite Boardroom Electrol - Page 4

Da-Lite Boardroom Electrol
10 pages
Print Icon
To Next Page IconTo Next Page
To Next Page IconTo Next Page
To Previous Page IconTo Previous Page
To Previous Page IconTo Previous Page
Loading...
4
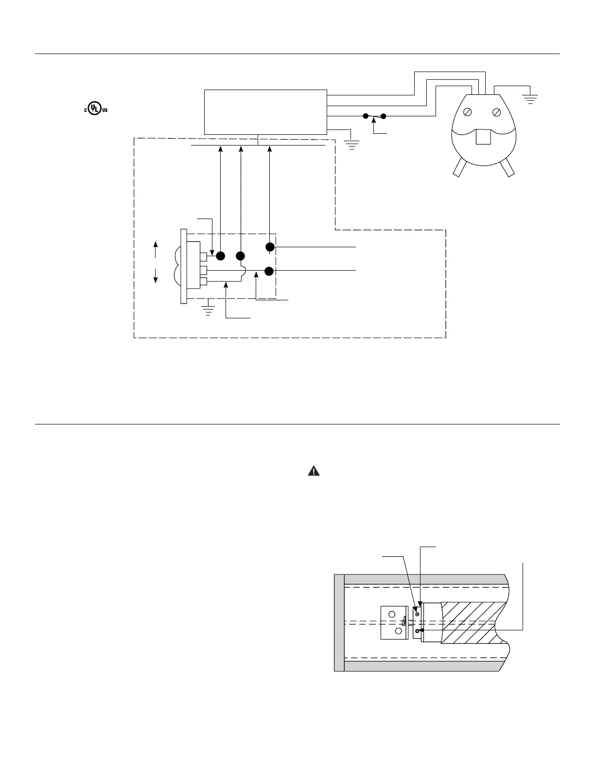
Surface travel is stopped automatically in the fully opened and closed positions by limit switches that are properly adjusted
at Da-Lite. Should it be necessary to adjust for more or less drop of picture, proceed in the following manner:
NOTE: Use a screw driver or 5/32" allen wrench to make
adjustments.
More screen drop
1. Place operating switch in “down” position.
2. When the screen stops, turn the white “down” limit knob
(Fig.4) one-quarter turn counterclockwise. Test by raising
picture surface approximately two feet, then lower again.
Repeat until desired picture surface position is attained.
Less screen drop
1. Raise picture surface approximately two feet
above desired level.
2. Place operating switch in “of” position.
3. Turn the white “down” limit knob (Fig.4) one-quarter turn
clockwise. Test by raising picture surface approximately two
feet, then lower again. Repeat until desired picture surface
position is attained.
CAUTION! Do not adjust for more drop than what was
ordered. At least 11/2 wraps of fabric must remain on the
roller. This screen comes standard with 0" or 2" black at
the top. See the speciication data sheet for details.
Boardroom Electrol
®
Installation 120V Screens
Screen Adjustment For 120V Screens
Operating switch and
plate furnished with
screen. (SPDT with
center of)
Black
(Down)
Up
Down
Red
(Up)
Side View of
Switch & Box
Black (Down)
Red (Up)
White (Common)
AC Common
Black With
Yellow
AC Hot
120V. AC 60 HZ
1 AMP. MAX.
NOTE:
A single switch cannot be used to operate more than
one screen. Contact the factory for further information.
This switch cannot be used with L.V.C.
120V Wiring Diagram
Figure 4
To junction box mounted in
screen case, in which internal
wiriing teminates in white, black,
and red leads.
In multiple control
installations the switch
is replaced by the low
voltage control,
operated from push
button stations.
Black
White
Red
Normally
Closed
Door
Limit
Switch
Motor
Of
Access
Door
Adjustment Red
Knob "Up"
Adjustment White
Knob "Down"
Fabric
Door
Screen
Motor

Other manuals for Da-Lite Boardroom Electrol

Related product manuals