EasyManua.ls Logo

Daikin FTX-N/U - Page 29

Daikin FTX-N/U
484 pages
Print Icon
To Next Page IconTo Next Page
To Next Page IconTo Next Page
To Previous Page IconTo Previous Page
To Previous Page IconTo Previous Page
Loading...
FTX-N/U, FVXS-N, FDMQ-R Series EDUS091558E
27
C: 4D112974A
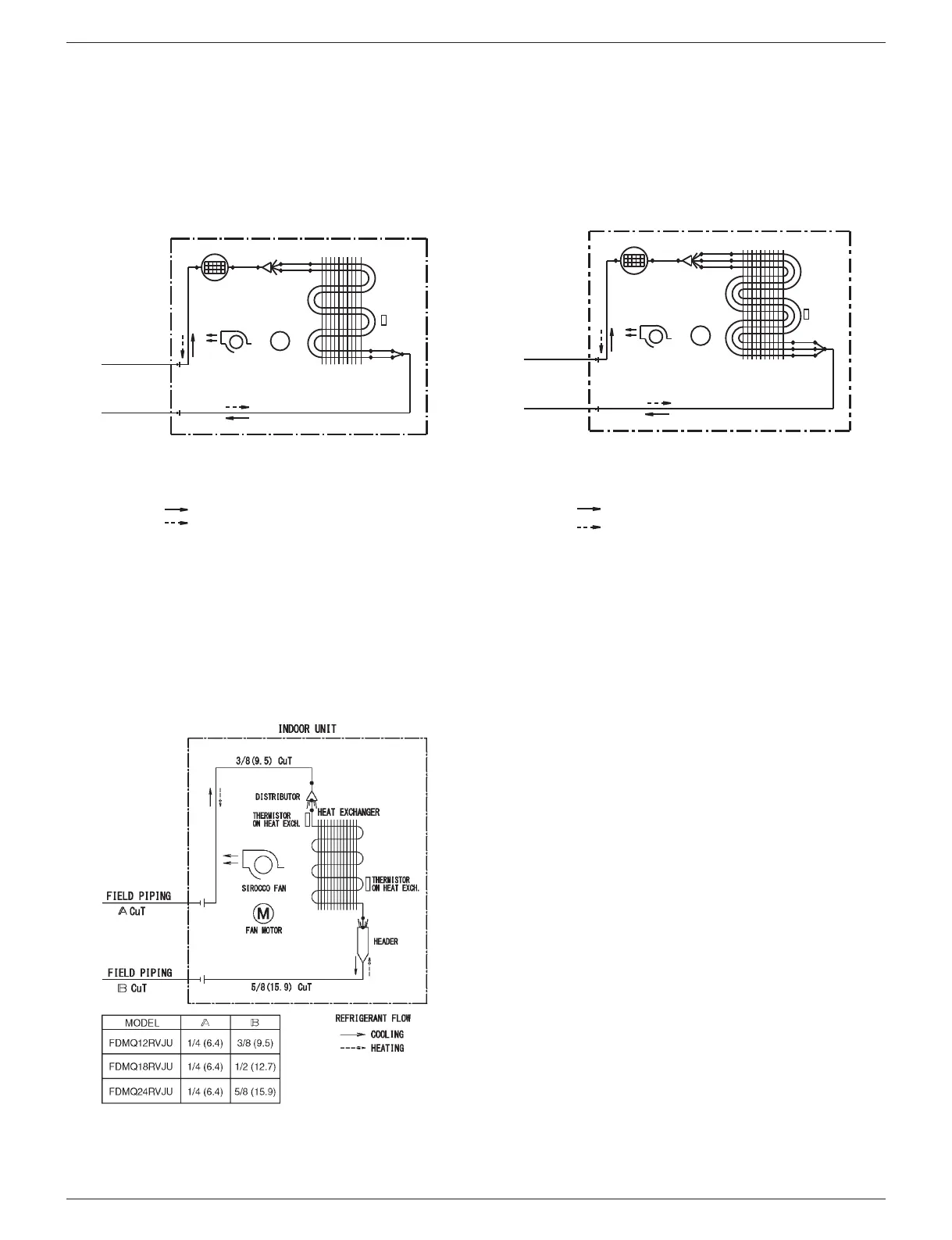
FDMQ12/18/24RVJU
1/4 CuT
9/32 CuT
1/4 CuT
1/4 CuT
1/4 CuT
1/4 CuT
M
1/4 CuT
1/4 CuT
3/8 CuT
COOLING
HEATING
INDOOR UNIT
MUFFLER ASSY
FIELD PIPING
(1/4 CuT)
FIELD PIPING
(1/2 CuT)
REFRIGERANT FLOW
TURBO FAN
FAN MOTOR
THERMISTOR
ON HEAT EXCH.
HEAT EXCHANGER
4D091795A
FVXS15NVJU
INDOOR UNIT
MUFFLER ASSY HEAT EXCHANGER
1/4 CuT
9/32 CuT
1/4 CuT
1/4 CuT
1/4 CuT
M
FAN MOTORTURBO FAN
1/4 CuT
3/8 CuT
FIELD PIPING
(1/4 CuT)
FIELD PIPING
(3/8 CuT)
THERMISTOR
ON HEAT EXCH.
REFRIGERANT FLOW
COOLING
HEATING
4D091794
FVXS09/12NVJU

Table of Contents

Related product manuals