EasyManua.ls Logo

Daikin FTX-N/U - 6 Piping Diagrams; Indoor Unit

Daikin FTX-N/U
484 pages
Print Icon
To Next Page IconTo Next Page
To Next Page IconTo Next Page
To Previous Page IconTo Previous Page
To Previous Page IconTo Previous Page
Loading...
26
FTX-N/U, FVXS-N, FDMQ-R Series EDUS091558E
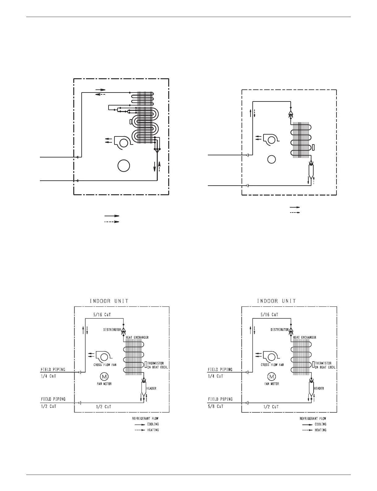
4D074608A
FTX24UVJU
4D074609A
FTX18UVJU
DISTRIBUTOR
M
HEADER
COOLING
HEATING
INDOOR UNIT
1/4 CuT
HEAT EXCHANGER
CROSS FLOW FAN
FAN MOTOR
THERMISTOR
ON HEAT EXCH.
FIELD PIPING
1/4 CuT
FIELD PIPING
1/2 CuT
1/2 CuT
REFRIGERANT FLOW
4D091769C
FTX15NMVJU
INDOOR UNIT
HEAT EXCHANGER
1/4 CuT
CROSS FLOW FAN
M
FAN MOTOR
3/8 CuT
REFRIGERANT FLOW
COOLING
HEATING
THERMISTOR
ON HEAT EXCH.
SINGLE UNION
JOINT
SINGLE UNION
JOINT
FIELD PIPING
(
1/4 CuT
)
FIELD PIPING
(
3/8 CuT
)
4D091708A
FTX09/12NMVJU
6.1 Indoor Unit
6. Piping Diagrams

Table of Contents

Related product manuals