EasyManua.ls Logo

Daikin LXE10E-A4 - Page 59

Daikin LXE10E-A4
162 pages
Print Icon
To Next Page IconTo Next Page
To Next Page IconTo Next Page
To Previous Page IconTo Previous Page
To Previous Page IconTo Previous Page
Loading...
3-20
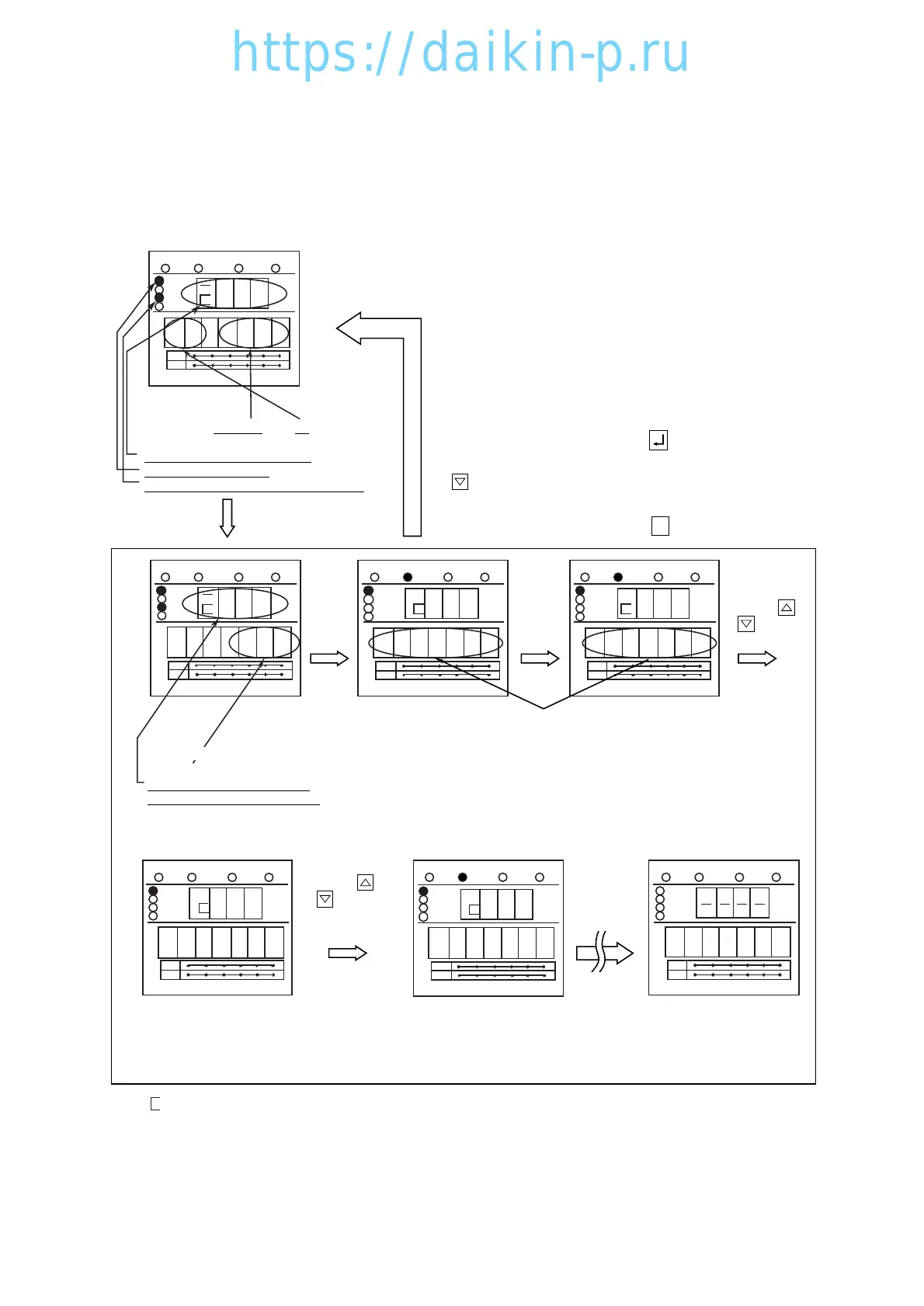
Example of TEMPERATURE RECORD SCROLL INDICATION MODE
It is assumed that the control temperature is the supply air temperature (SS) and the logging
interval is 1 hour, and the current date and time are June 27, 2002, 14:00.
COMP. DEFROST IN RANGE DE-HUMID.
-----
-----
-----
-----
-----
27 3.1
SUPPLY
RETURN
ALARM
R.H.
0. 1
00
-----
-----
-----
-----
-----
0. C2
SUPPLY
RETURN
ALARM
R.H.
0. 1
RS
the key for 3 seconds.
To restart, press and hold
-----
-----
-----
-----
-----
6. C3
SUPPLY
RETURN
ALARM
R.H.
RS
One second later
One
second
later
One
second
later
Press the
or Key
-----
-----
-----
-----
-----
SUPPLY
RETURN
ALARM
R.H.
5. 05. 0
2.27 1 00
-----
-----
-----
-----
-----
SUPPLY
RETURN
ALARM
R.H.
20 3.100
-----
-----
-----
-----
-----
SUPPLY
RETURN
ALARM
R.H.
5. 0
27 2.10027 2.100
-----
-----
-----
-----
-----
SUPPLY
RETURN
ALARM
R.H.
The date/time, control temperature and the inside
temperature on the other side are indicated in turn.
Press the
or Non key operation
for 10 seconds.
or
Key
COMP. DEFROST IN RANGE DE-HUMID. COMP. DEFROST IN RANGE DE-HUMID. COMP. DEFROST IN RANGE DE-HUMID.
COMP. DEFROST IN RANGE DE-HUMID.
COMP. DEFROST IN RANGE DE-HUMID. COMP. DEFROST IN RANGE DE-HUMID.
S
5. 0
27 2.100
An example. p.m. 1:00 June 27, 2002
(To be displayed on LCD)
SS= 0.1 ˚C (indicated on LED)
SUPPLY LED lights on.
ALARM LED lights on (when alarms exist).
An example.
Date of p.m. 1:00 June 27, 2002
RS= 0. 2 ˚C (displayed on LED)
SS= 0.1 ˚C (displayed on LED)
SUPPLY LED lights on.
ALARM LED lights on
(when alarms exist).
Stop on the data of
p.m. 12:00 June 27, 2002
Restart the scroll indication on the point
where the process was stooped on the
data of p.m. 12:00 June 27, 2002
After completion of indication of
the oldest data (Final indication)
Scroll indication
Date of p.m. 12:00 June
27, 2002 (To be displayed on LCD)
SS= 5.0 ˚C (displayed on LED)
DEFROST LED lights on.
(during defrosting)
Date of p.m. 12:00 June
27, 2002
RS= 6.3 ˚C (indicated on LED)
DEFROST LED lights on.
(during defrosting)
To go back the current indication mode,
press the key.
If key operation is not performed within
5 minutes, the current indication mode
screen is resumed.
To return to the operation setting mode,
press the key.
uyt
rew
q
Note: " " on the leftmost of the LED shows that the indication is of the temperature record scroll indication
mode.
https://daikin-p.ru

Table of Contents