EasyManua.ls Logo

Daikin LXE10E-A4 - P Code (Pull down Time Indication)

Daikin LXE10E-A4
162 pages
Print Icon
To Next Page IconTo Next Page
To Next Page IconTo Next Page
To Previous Page IconTo Previous Page
To Previous Page IconTo Previous Page
Loading...
3-58
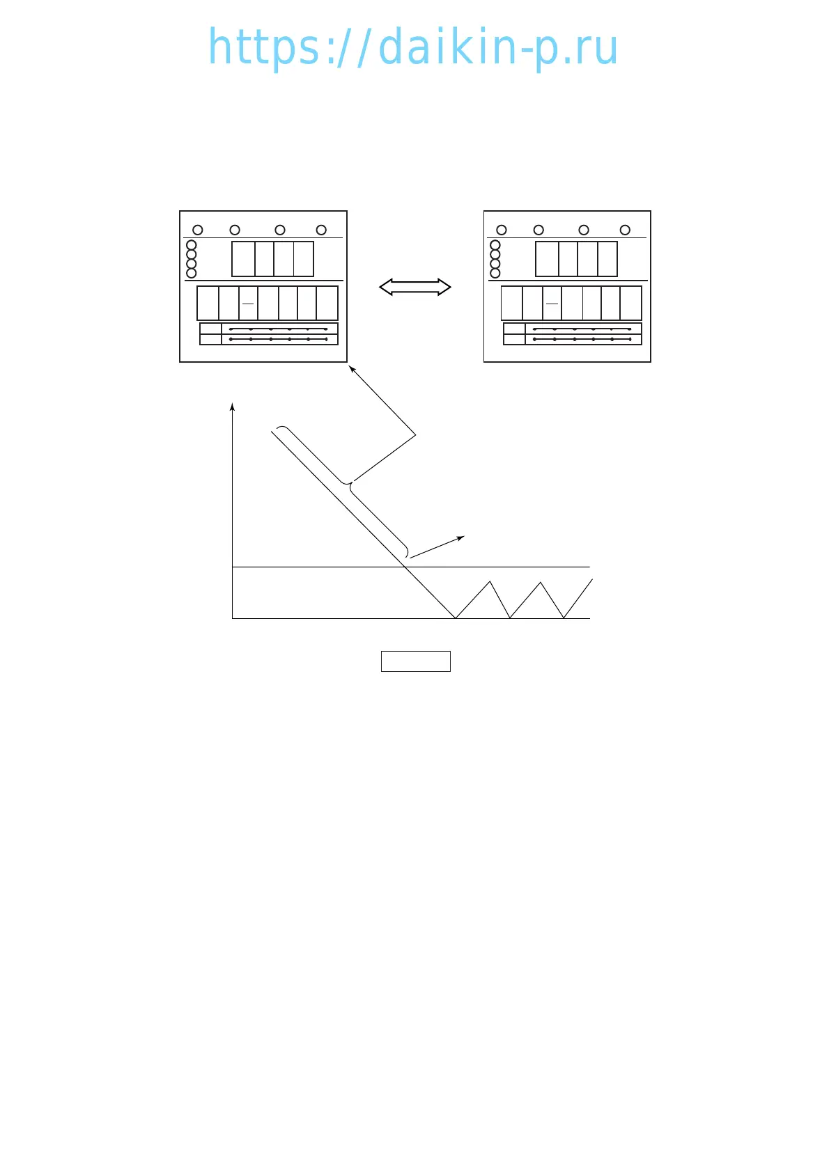
3.10.2 P code (Pull down time indication)
The control temperature and pull-down time are indicated alternately during pull-down operation.
When the pull-down is completed, the P code will be deleted.
P001: Lasts the pull-down for 1 hour. /P002: 2 houes passed since pull-down started.
27 2.100
-----
-----
-----
-----
-----
SUPPLY
RETURN
ALARM
R.H.
COMP. DEFROST IN RANGE DE-HUMID.
001
SP
P
8.100 27 2.100
-----
-----
-----
-----
-----
SUPPLY
RETURN
ALARM
R.H.
COMP. DEFROST IN RANGE DE-HUMID.
5. 0
SP 8.100
If the setpoint is 18˚C:
When RS reaches 17˚C,
"P00X" will disappear automatically
LED display alters
every 1 sec.
17.0˚C
18.0˚C
Figure1
https://daikin-p.ru

Table of Contents

Related product manuals