EasyManua.ls Logo

Daikin RY50G - Wireless Remote Controller

Daikin RY50G
244 pages
Print Icon
To Next Page IconTo Next Page
To Next Page IconTo Next Page
To Previous Page IconTo Previous Page
To Previous Page IconTo Previous Page
Loading...
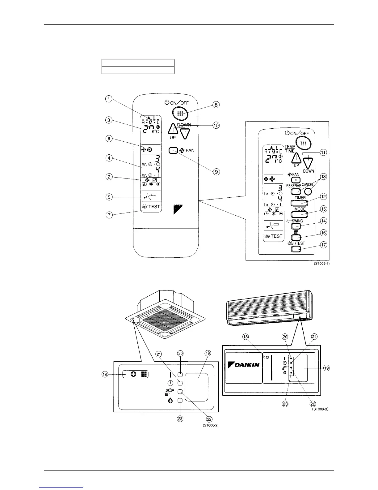
Wireless Remote Controller Si-71A
14 Remote Controller Operation
3. Wireless Remote Controller
3.1 Wireless Remote Controller
Fig1,2
BRC7C612W FHYC-K
BRC7C64W FAY-F
FHYC-K FAY-F

Table of Contents

Related product manuals