EasyManua.ls Logo

Daikin RY50G - Outdoor Units (50 Hz)

Daikin RY50G
244 pages
Print Icon
To Next Page IconTo Next Page
To Next Page IconTo Next Page
To Previous Page IconTo Previous Page
To Previous Page IconTo Previous Page
Loading...
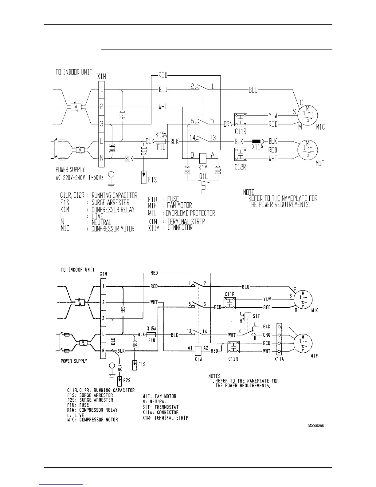
Wiring Diagram Si-71A
216 Appendix
2.2 Outdoor Units (50Hz)
R35GV1
R50GV1
DW523-555-1A

Table of Contents

Related product manuals