EasyManua.ls Logo

Daikin RY50G - Centralized Group No. Setting

Daikin RY50G
244 pages
Print Icon
To Next Page IconTo Next Page
To Next Page IconTo Next Page
To Previous Page IconTo Previous Page
To Previous Page IconTo Previous Page
Loading...
Si-71A Method of Field Set (Reset after Maintenance Inspection/Repair)
Explanation of Field Set 29
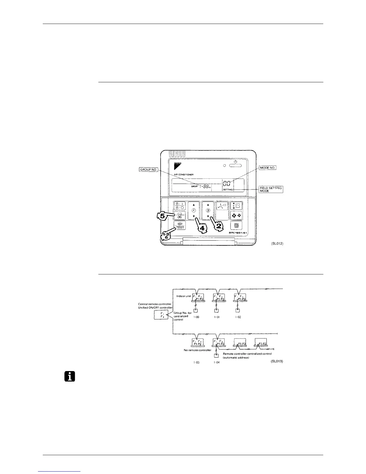
1.6 Centralized Group No. Setting
If carrying out centralized control with a central remote controller and unified ON/OFF controller, you
have to set the group No. for each group by remote controller.
To set the group No., first turn on the power supply of the central remote controller, unified ON/OFF
controller and indoor unit.
Centralized Group
No. Setting by
Remote Controller.
1. If the inspection/test button is pushed for 4 seconds or more when in the normal mode, operation enters
the “field set mode.”
2. Using the temperature control buttons, set the mode No. to “00.”
3. Push the inspection/test button to inspect the group No. display.
4. Using the programming time button, set the group No. for each group. (Group No. rises in the order of
1-00, 1-01, ...1-15, 2-00 ...4-15, etc. The unified ON/OFF controller however displays only the range of
group numbers selected by the switch for setting each address.)
5. Push the timer ON/OFF button and enter the selected group No.
6. Push the inspection/test button and return to the normal mode.
If the address has to be set individually for each unit for power consumption counting, etc., set the mode
No. to “30.”
Group No. Setting
Example
Note:
1. “F1,F2”indicates interface adaptor for SKY AIR series.
2. If not using remote controllers, temporarily connect a remote controller to set the group No., set the
group No. for centralized control, and then disconnect the controller.

Table of Contents

Related product manuals