EasyManua.ls Logo

Danfoss APP series - Page 70

Danfoss APP series
118 pages
Print Icon
To Next Page IconTo Next Page
To Next Page IconTo Next Page
To Previous Page IconTo Previous Page
To Previous Page IconTo Previous Page
Loading...
70 | 180R9346 | AQ240486503020en-001702 © Danfoss | 2023.03
Operation guide Installation, Operation and Maintenance APP 53-92 pumps
BoWex-ELASTIC
®
Operating/Assembly instructions
Type HEW, HEW Compact and HEW-ZS
KTR-N
Sheet:
Edition:
40114 EN
10
of 22
7
Please observe protection
note ISO 16016.
Drawn:
2017-04-24 Shg/Hk
Replacing:
KTR-N dated 2013-06-10
Verified:
2017-04-24 Shg
Replaced by:
STOP
The maximum permissible bore diameters d (see table 1 to 5
in chapter 1 - technical data) must not be exceeded. If these
figures are disregarded, the coupling may tear. Rotating par-
ticles may cause danger to life.
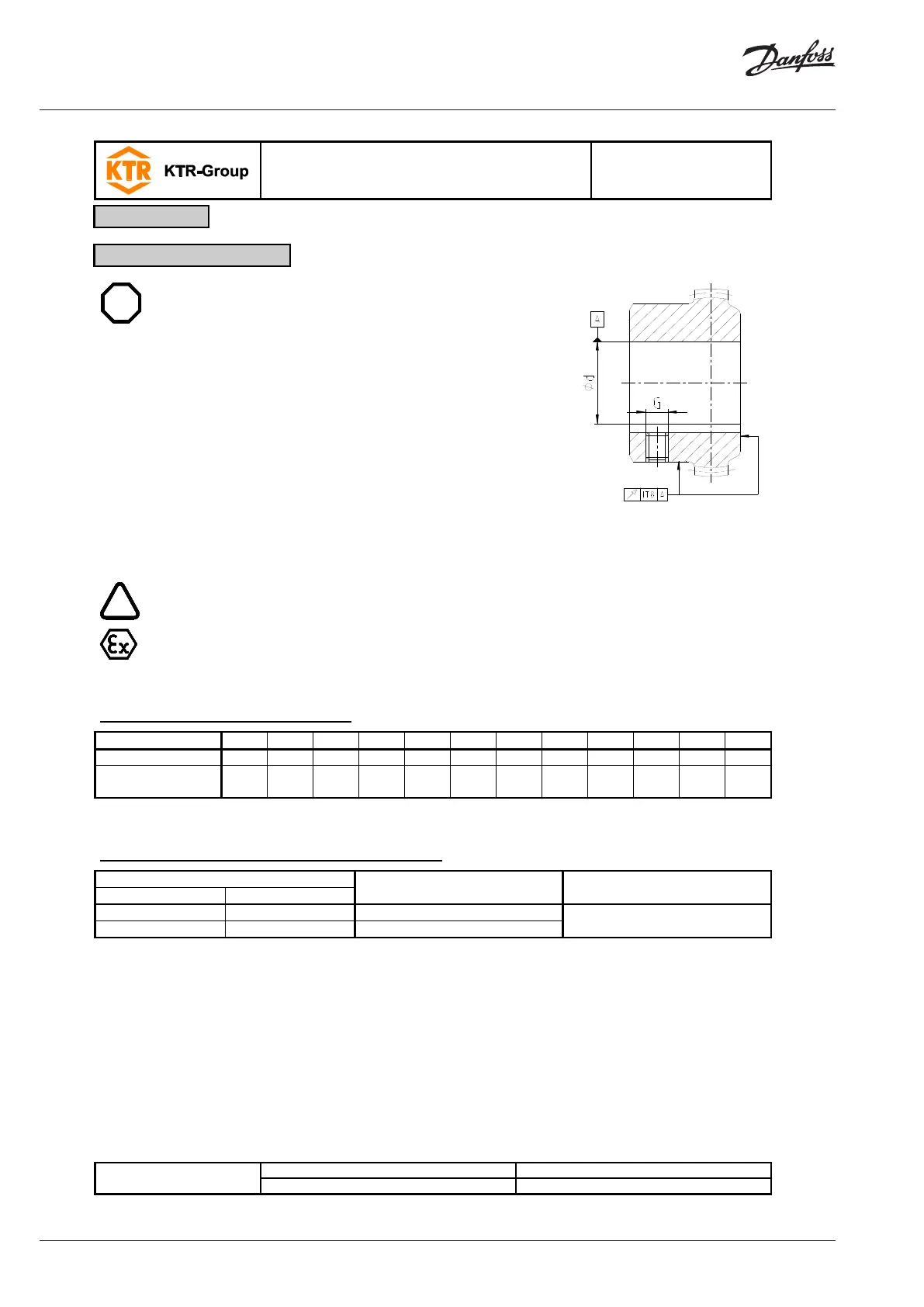
Bores on the hubs/coupling flange machined by the customer
have to observe concentricity or axial runout (see illustration
12).
Please make absolutely sure to observe the figures for Ø d
max
.
Carefully align the hub or coupling flange when the finish
bores are drilled.
Provide for a setscrew according to DIN EN ISO 4029 with a
cup point or an end plate to fasten the hub or coupling flange
axially.
Illustration 12: Concentricity and axial
runout
!
The customer bears the sole responsibility for all machining processes performed subse-
quently on unbored or pilot bored as well as finish machined coupling components and
spare parts. KTR does not assume any warranty claims resulting from insufficient rema-
chining.
Table 7: Setscrews DIN EN ISO 4029
Size
42
48
65
80
G 80
100
125
G 125
150
G150
200
G 200
Thread size
M8
M8
M10
M10
M10
M12
M16
M16
M16
M16
M20
M20
Tightening torque
T
A
[Nm]
10 10 17 17 17 40 80 80 80 80 140 140
Table 8: Recommended fit pairs acc. to DIN 748/1
Bore [mm]
Shaft tolerance Bore tolerance
above
up to
50
k6
H7
(KTR standard)
50
m6
If a feather keyway is intended to be used in the hub, it should correspond to the tolerance ISO JS9 (KTR stand-
ard) with normal operating conditions or ISO P9 with difficult operating conditions (frequently alternating torsional
direction, shock loads, etc.).
The transmittable torque of the shaft-hub-connection must be reviewed by the customer and is subject to his re-
sponsibility.
4 Assembly
4.2 Advice for finish bore

Table of Contents

Other manuals for Danfoss APP series

Related product manuals