EasyManua.ls Logo

Dehler 35 - Rudder System

Default Icon
63 pages
Print Icon
To Next Page IconTo Next Page
To Next Page IconTo Next Page
To Previous Page IconTo Previous Page
To Previous Page IconTo Previous Page
Loading...
Yacht Manual DEHLER 35
36 - 63
4.7 Rudder system
The rudder system only needs minimum maintenance. The rudder blade with rudder shaft is
held in an upper and lower pendulum bearing. The power is transmitted from the cable drum
on the steering column via a cross piece to the steering gear and from there to the rudder
quadrant. Here the very strong steering cable can be put under strain. See also the supplier’s
documentation.
The rudder is caulked and held by a rudder caulking ring on a friction bearing above the
rudder port. In addition the rudder shaft is caulked by thickening of the shaft in the port.
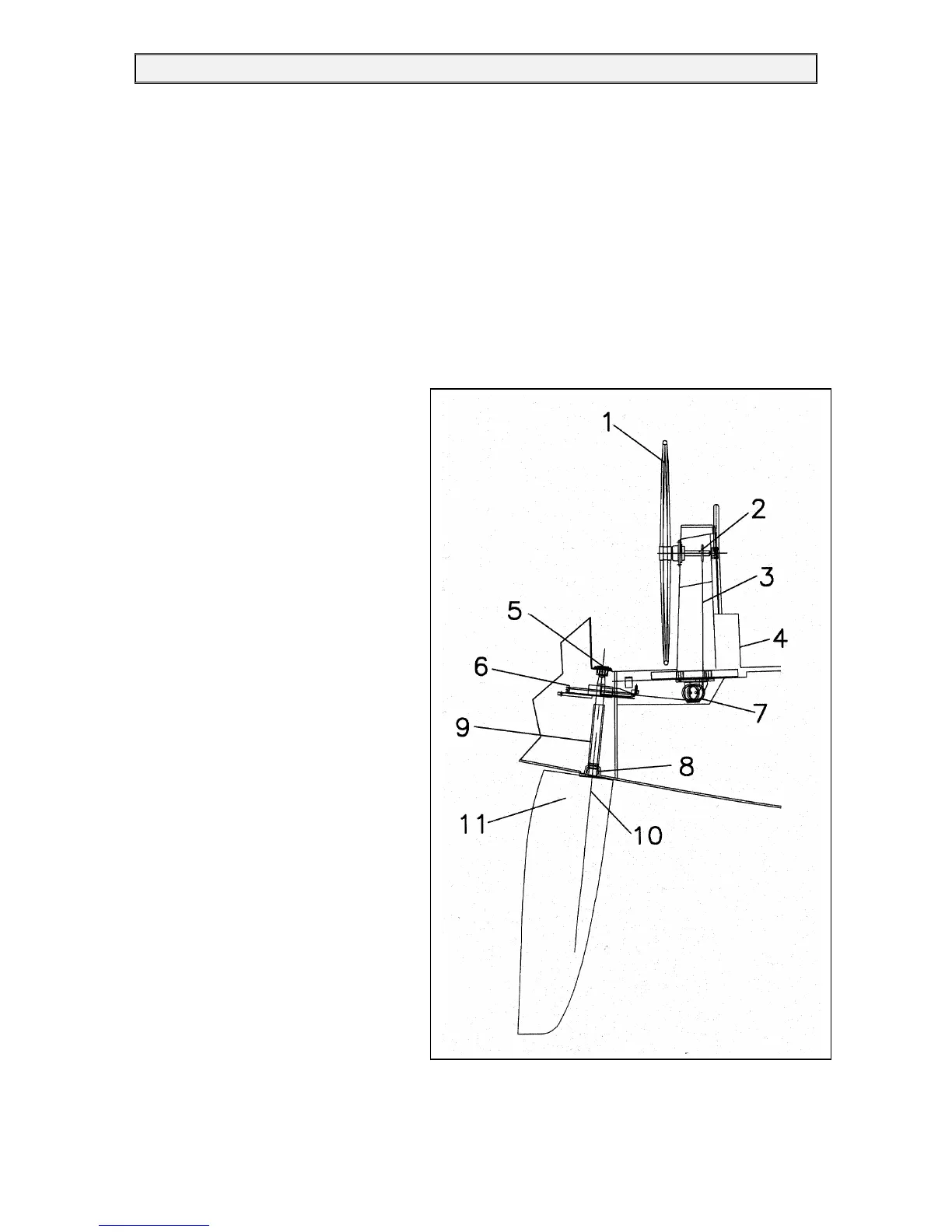
4.7.1 Wheel steering
Steering pedestal is integrated into
deck.
1 Wheel
2 Steering drum
3 Chain and wice set
4 Steering column
5 Upper bearing
6 Quadrant
7 Idler
8 Lower bearing
9 Rudder tube
10 Rudder stock
11 Rudder blade
FIGURE 21: WHEEL STEERING

Table of Contents

Related product manuals