EasyManua.ls Logo

Denon AVR-983 - Operating Other Components

Denon AVR-983
76 pages
Print Icon
To Next Page IconTo Next Page
To Next Page IconTo Next Page
To Previous Page IconTo Previous Page
To Previous Page IconTo Previous Page
Loading...
32
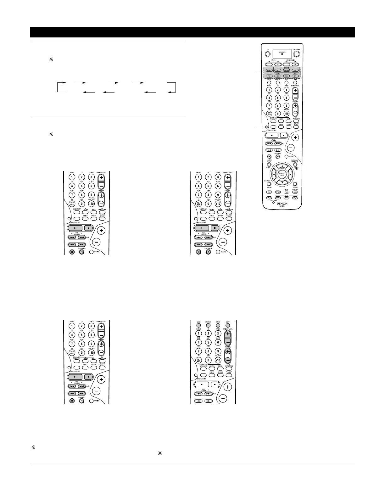
Operating DENON audio components
1
2
Use the mode selector buttons to select the component you
want to operate.
The function will change one step in the sequence
described below each time the MODE SELECT button is
pressed.
Operate the audio component.
For details, refer to the components operating instructions.
It may not be possible to operate some models.
1. CD player (CD) system buttons 2. Tape deck (TAPE) system buttons
1
1
6, 7 : Manual search (forward and reverse)
2 : Stop
1 :Play
8, 9 : Auto search (to beginning of track)
3 : Pause
DISC SKIP +: (for CD changers only)
6 : Rewind
7 : Fast forward
2 : Stop
1 : Forward play
3 : Pause
0 : Reverse play
A/B : Switch between sides A and B
3. MD recorder (MD), CD recorder (CDR) system buttons
6, 7 : Manual search (forward and reverse)
2 : Stop
1 :Play
8, 9 : Auto search (to beginning of track)
3 : Pause
Default setting = CDR
4. Tuner system buttons
TUNING +, : Tuning up/down
BAND : Switch between AM and FM bands
MODE : Switch between AUTO and MANUAL
MEMORY : Preset memory
SHIFT : Switch preset channel range
CHANNEL +, : Preset channel up/down
The tuner can be operated in the amplifier (CD, CDR/MD, or TAPE) mode.
CD CDR/MD TAPE
DVD/VDP
ZONE2 TV DBS/CABLE VCR

Other manuals for Denon AVR-983

Related product manuals