EasyManua.ls Logo

Denyo DCA-25USI - Generator Connection Diagram

Denyo DCA-25USI
90 pages
Print Icon
To Next Page IconTo Next Page
To Next Page IconTo Next Page
To Previous Page IconTo Previous Page
To Previous Page IconTo Previous Page
Loading...
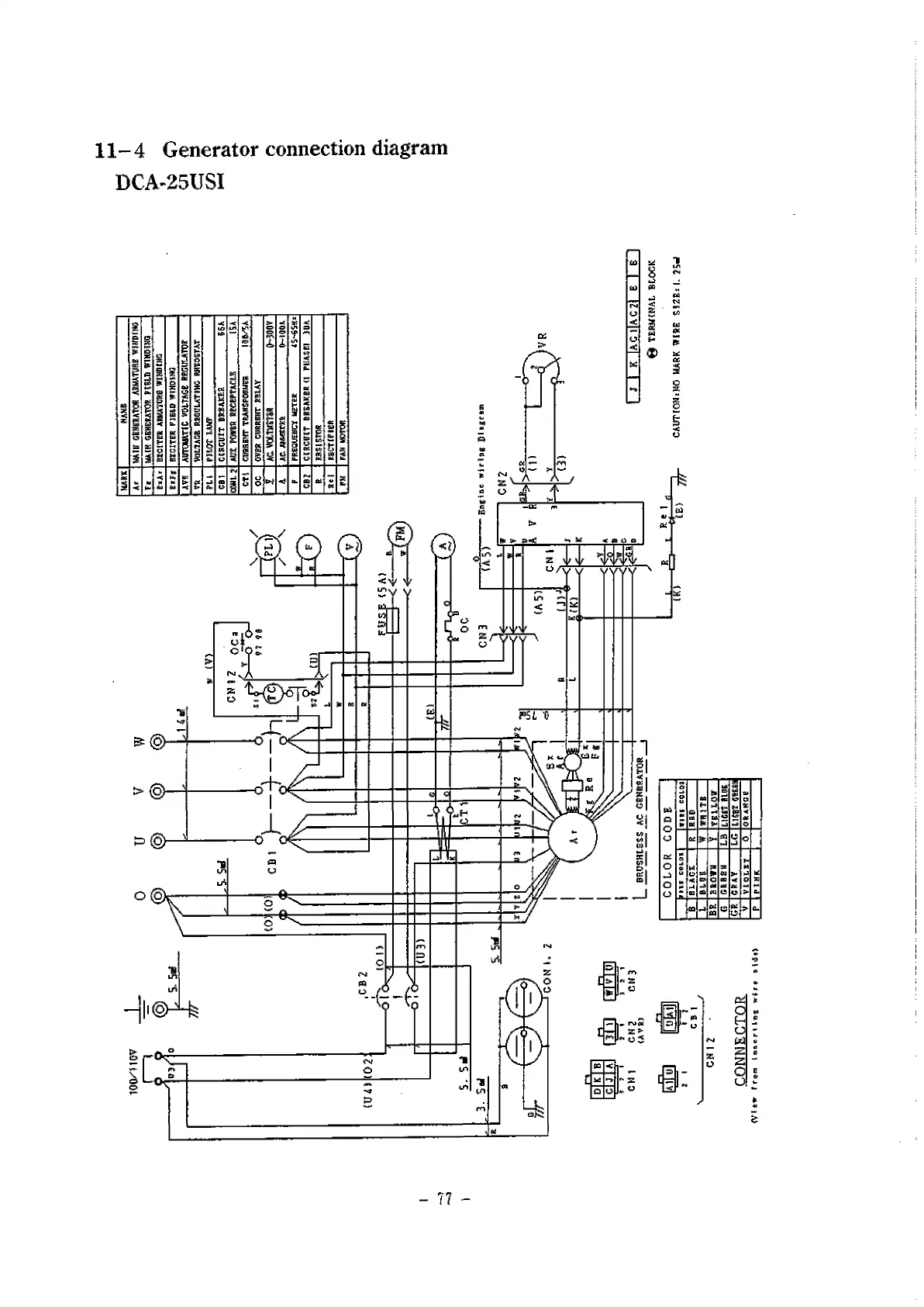
11-4 Generator connection diagram
DCA-25USI
-
11
-
CONNECTOR

Table of Contents

Related product manuals