EasyManua.ls Logo

Diamond SmartLyte Plus - Page 47

Diamond SmartLyte Plus
58 pages
Print Icon
To Next Page IconTo Next Page
To Next Page IconTo Next Page
To Previous Page IconTo Previous Page
To Previous Page IconTo Previous Page
Loading...
1 Introduction
ECO 9099 SOP05-5090F Rev.00 Effective Date: 12/20/18 Page 47 of 58
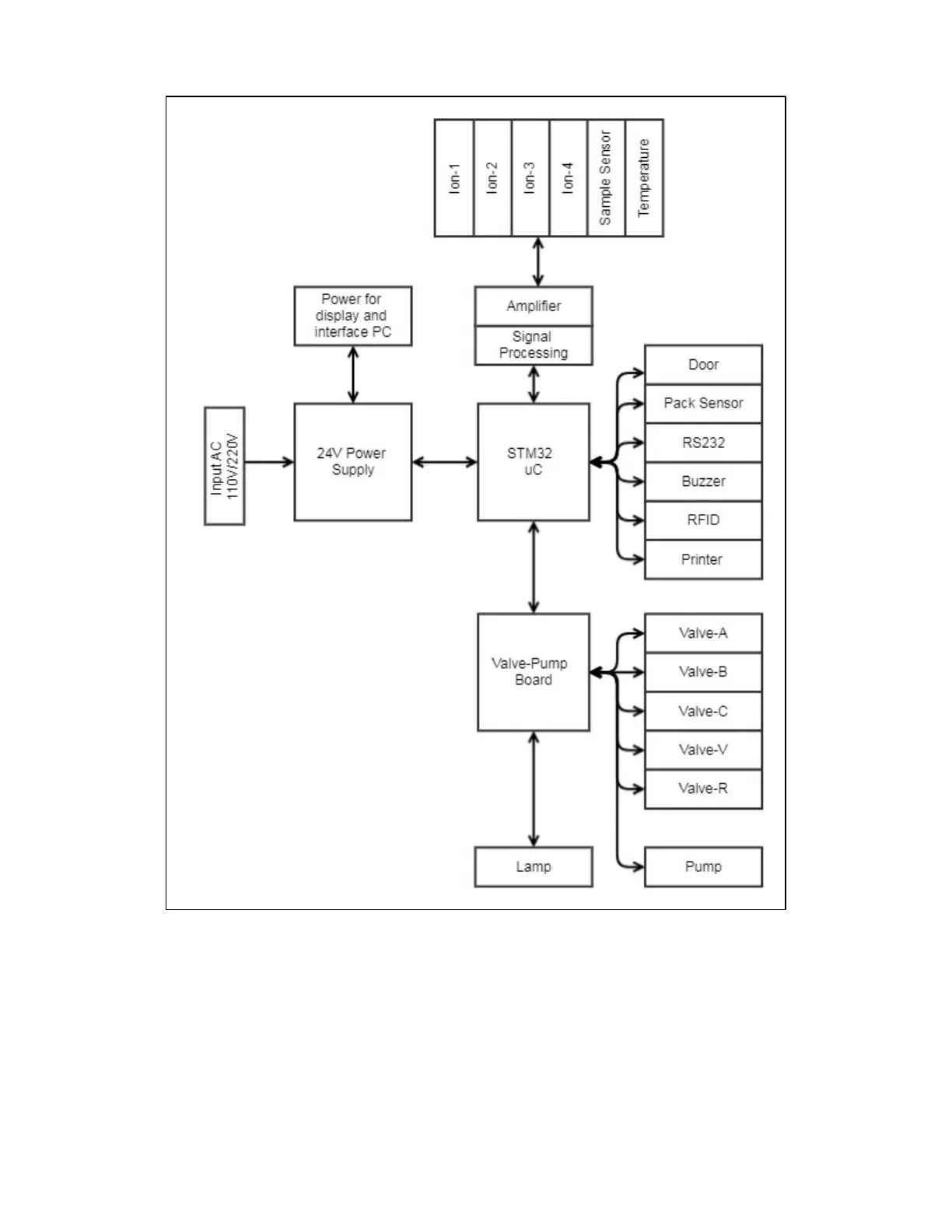
Figure 1-65 CPU board block diagram

Related product manuals