EasyManua.ls Logo

DOMUSA EVOLUTION EV FDX - Primary Combustion Air Adjustment; Combustion Line Adjustment; Correct Positioning of Ignition Electrodes

DOMUSA EVOLUTION EV FDX
45 pages
Print Icon
To Next Page IconTo Next Page
To Next Page IconTo Next Page
To Previous Page IconTo Previous Page
To Previous Page IconTo Previous Page
Loading...
Evolution FDX
24
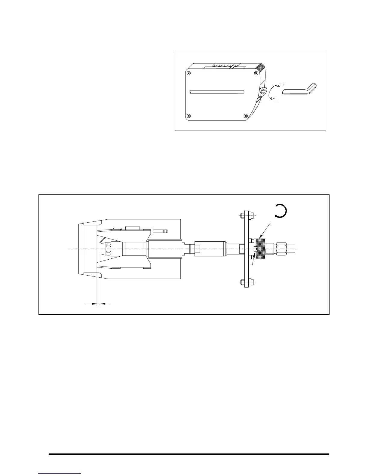
22.7 Primary combustion air adjustment
To adjust the primary combustion
air, turn the screw as shown on the
drawing by means of a 6 mm. Allen
wrench. To increase the airflow, turn
it to the right and to decrease it, turn
it to the left.
22.8 Combustion line adjustment
To adjust the combustion line, unscrew the combustion line blocking screw "BL". Turn the
line adjustment screw "RL" to the right to increase the airflow and to the left to decrease it.
After the adjustment has been made, screw the combustion line blocking screw "BL".
BL
RL
+
-
3 mm
0
1
22.9 Correct positioning of ignition electrodes
To assure a good ignition of the burner Domestic, it is necessary to respect the measures
shown in the drawing. Besides, before mounting the flame tube again, make sure that the
blocking screws of the electrodes have been fixed.
10
0

Table of Contents

Related product manuals