EasyManua.ls Logo

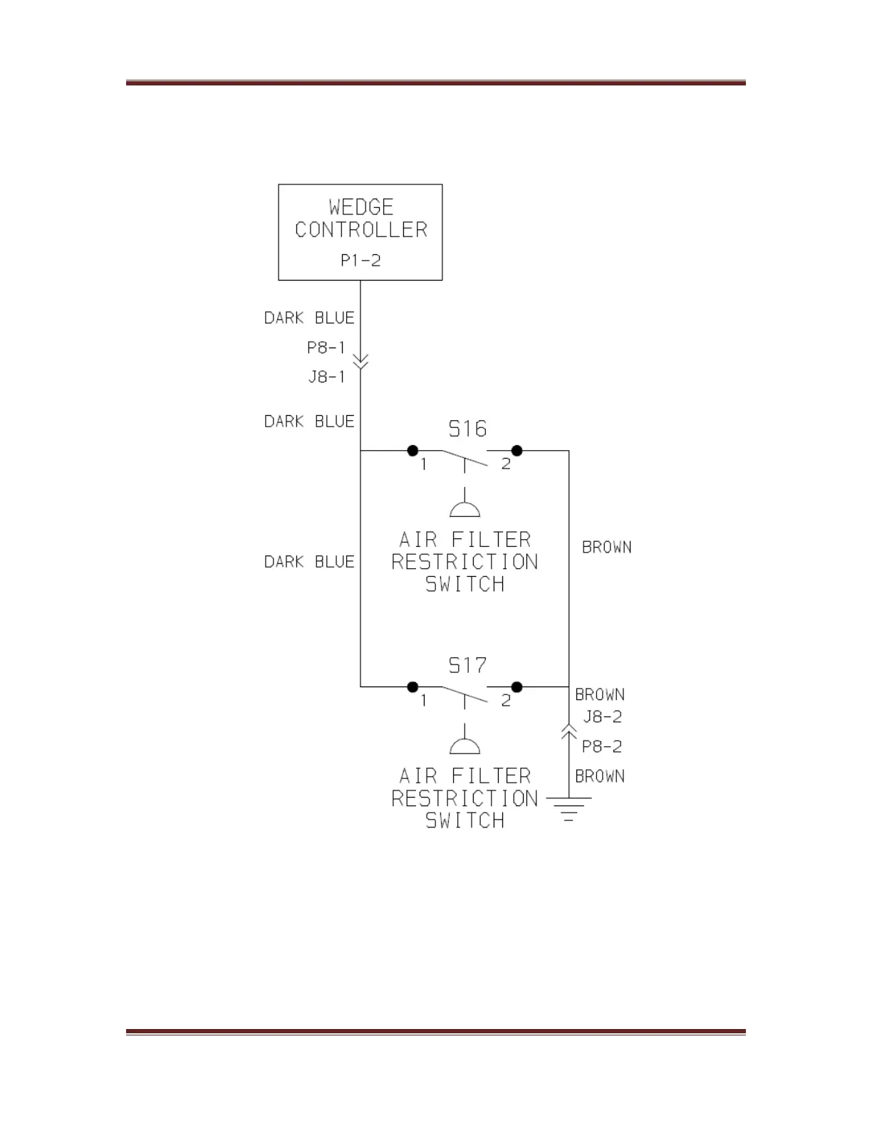
Doosan P425CWJD - Air Filter Restriction Switch Circuit

Doosan P425CWJD
139 pages
Print Icon
To Next Page IconTo Next Page
To Next Page IconTo Next Page
To Previous Page IconTo Previous Page
To Previous Page IconTo Previous Page
Loading...

Book: 23227143 (8-24-2010) Rev CPage70
Air Filter Restriction Switch Circuit

Table of Contents

Related product manuals