EasyManua.ls Logo

Druck TRX - Page 74

Default Icon
94 pages
Print Icon
To Next Page IconTo Next Page
To Next Page IconTo Next Page
To Previous Page IconTo Previous Page
To Previous Page IconTo Previous Page
Loading...
73
Unomat/trxhb/trxhb
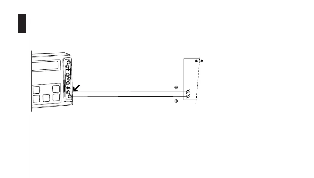
Diagram 9
Thermocouple simulation with
compensation wires/automatic
CJ- compensation
Diagramm 9
Thermoelement Simulation mit
Kompensationsleitungen/
automatische (automatic)
CJ-Compensation
Diagramme 9
Simulation thermocouple avec fils
de compensation/compensation
automatique soudure froide
Terminal block in position for TC,
mV and Volts applicable diagram
at right hand side
Anschlußblock in position für TC,
mV und Volt zuständig Diagramm
rechtsseitig
Bornier en position pour
thermocouples, mV et Volts.
Diagramme applicable à droite
Cold junction
Vergleichsstelle
Soudure froide
Transmitter alarm recorder controller
control system etc.
Transmitter Alarm Schreiber Regler
Regelsystem usw.
Transmetteur alarme enregistreur
système de commande etc.

Table of Contents

Related product manuals