EasyManua.ls Logo

Duplo DF-920 - Page 33

Duplo DF-920
95 pages
Print Icon
To Next Page IconTo Next Page
To Next Page IconTo Next Page
To Previous Page IconTo Previous Page
To Previous Page IconTo Previous Page
Loading...
1-31
12H-M12M0-0309-0
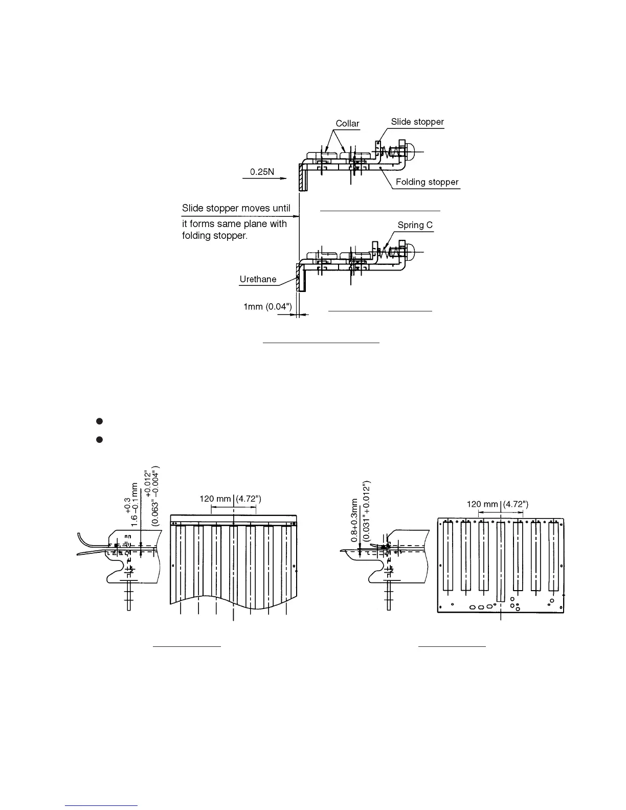
(4) Structure of folding stopper
To reduce the collision sound when the lead edge of the paper collides with the folding stopper, a double-stopper
structure where a slide stopper is mounted onto the folding stopper is provided.
The side of the slide stopper which collides with the paper is also pasted with urethane to simultaneously reduce
the collision sound and paper bending.
Folding stopper structure
2-6-1. Adjusting the clearance of the conveyance route of the folding plate
To prevent paper jamming at the folding plate, check that the clearance of the conveyance route of the folding plate
satisfies the following values within the 120 mm (4.72") range from the center of the folding plate.
Folding plate 1: 1.6 mm (0.063" )
Folding plate 2: 0.8 + 0.3 mm (0.031" + 0.012")
Folding plate 1
+0.3
0.1
Bottom regulated position
Top regulated position
Folding plate 2
+0.012"
0.004"

Table of Contents

Other manuals for Duplo DF-920

Related product manuals